Curiosii for ever!
: Car repair manuals for everyone.
Home
>>
Pontiac
>>
1999
>>
Firebird V8-5.7L VIN G
>>
Repair and Diagnosis
>>
Specifications
>>
Mechanical Specifications
>>
Engine
>>
System Specifications
>>
Thread Repair Specifications
>>
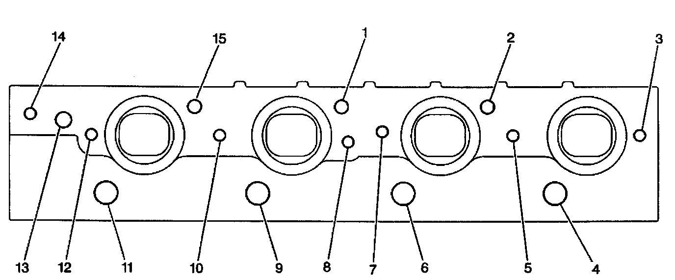
Cylinder Head-Exhaust Manifold Deck View
Cylinder Head-Exhaust Manifold Deck View
Part 1 Of 2:
Part 2 Of 2: