Curiosii for ever!: Car repair manuals for everyone.

Front Camber Adjustment

REMOVAL PROCEDURE






1. Raise the vehicle and provide suitable support.
2. Remove the tire and wheel assemblies from the front and the rear axles.
3. Remove the strut from the vehicle. Refer to STRUT REPLACEMENT in FRONT SUSPENSION.
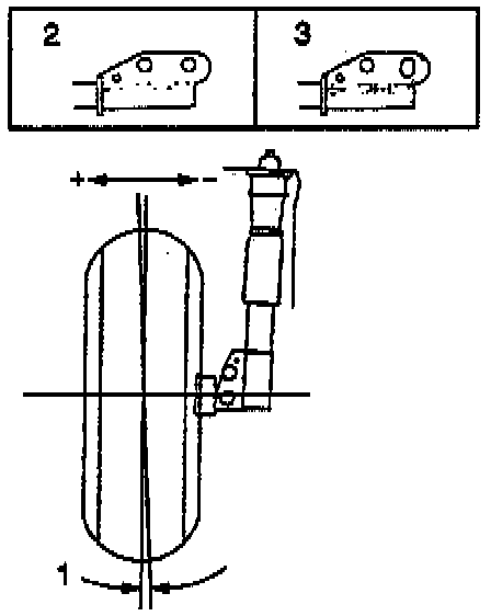
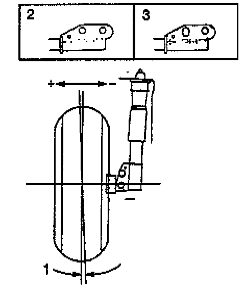
4. Place the strut in a vise and file the hole lateral (oblong). Compare the appearance of the holes before filing (2) with after filing (3):
- File the lower strut-to-knuckle attaching hole for a front camber adjustment (as in the first illustration).
- File the upper strut-to-knuckle attaching hole for a rear camber adjustment (as in the second illustration).

INSTALLATION PROCEDURE






NOTICE: Always use the correct fastener in the proper location. When you replace a fastener, use ONLY the exact part number for that application. The manufacturer will call out those fasteners that require a replacement after removal. The manufacturer will also call out the fasteners that require thread lockers or thread sealant. UNLESS OTHERWISE SPECIFIED, do not use supplemental coatings (paints, greases, or other corrosion inhibitors) on threaded fasteners or fastener joint interfaces. Generally, such coatings adversely affect the fastener torque and joint clamping force, and may damage the fastener. When you install fasteners, use the correct tightening sequence and specifications. Following these instructions can help you avoid damage to parts and systems.

1. Install the strut to the vehicle. Refer to STRUT REPLACEMENT in FRONT SUSPENSION.
- Tighten the strut-to-knuckle bolts as far as to allow movement of the knuckle.
2. Install the tire and wheel assemblies.
3. Adjust the camber (1).
- Tighten the strut-to-knuckle bolts to 120 Nm (88 ft. lbs.).
4. Lower the vehicle.