Curiosii for ever!: Car repair manuals for everyone.

Frontal SIR System Install or Connect





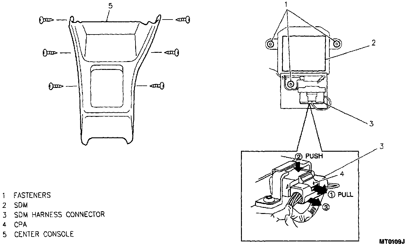
Install or Connect
1. The Sensing and Diagnostic Module (SDM) to the vehicle. Ensure the arrow is pointing toward the front of the vehicle.
2. The SDM fasteners.

Tighten
^ Fasteners to 5.5 N.m (49 lb. in.).
3. The electrical connector and the CPA.
4. The center console.
^ Enable the SIR system. Refer to Air Bag(s) Arming and Disarming.

Tighten
Fasteners to 5.5 N.m (49 lb. in.).