Curiosii for ever!: Car repair manuals for everyone.

Relay Box: Service and Repair



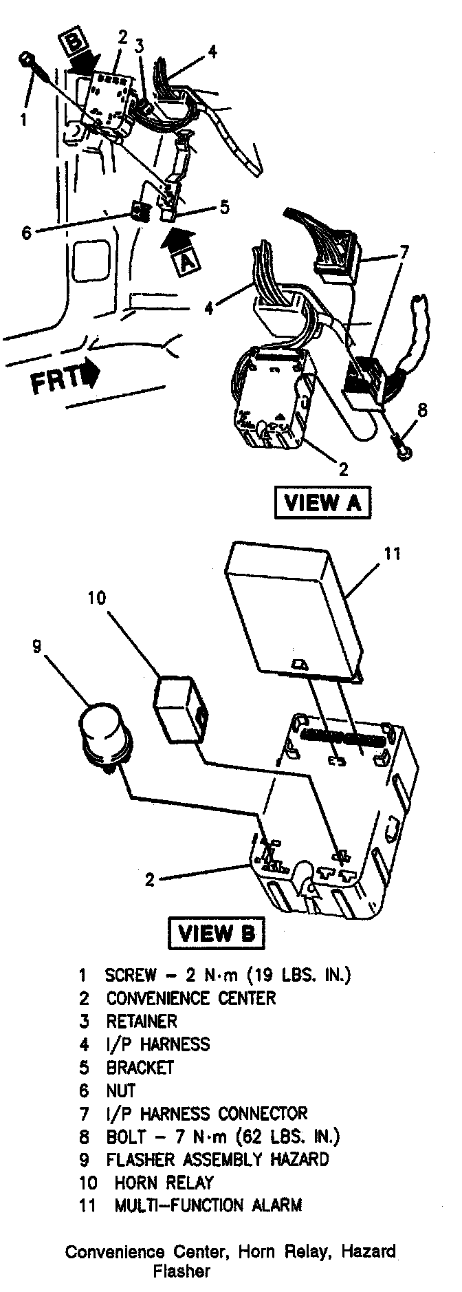
CONVENIENCE CENTER, HORN RELAY, HAZARD FLASHER









REMOVE OR DISCONNECT
1. Negative battery cable.
2. LH sound insulator.
3. Screw through convenience center.

INSTALL OR CONNECT
1. Screw to convenience center.

TIGHTEN
- Screw to 2 Nm (19 lbs. in.).

2. LH sound insulator.
3. Negative battery cable.