Curiosii for ever!
: Car repair manuals for everyone.
Home
>>
Pontiac
>>
1991
>>
6000 V6-191 3.1L
>>
Repair and Diagnosis
>>
Diagrams
>>
Exploded Views
>>
Automatic Transmission/Transaxle
>>
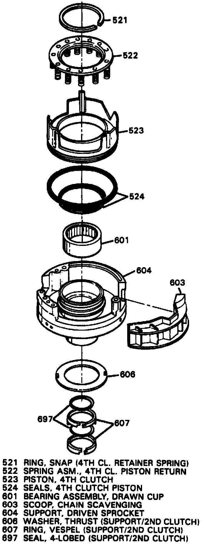
Driven Sprocket Support
Driven Sprocket Support