Curiosii for ever!
: Car repair manuals for everyone.
Home
>>
Pontiac
>>
1990
>>
Grand AM L4-151 2.5L
>>
Repair and Diagnosis
>>
Power and Ground Distribution
>>
Fuse
>>
Locations
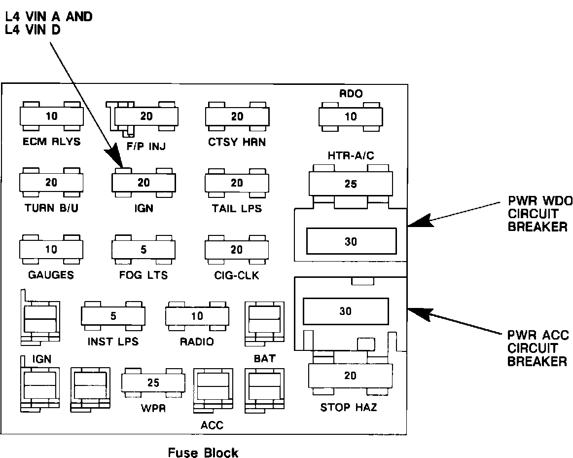
Fuse: Locations
Fuse Panel: