Curiosii for ever!: Car repair manuals for everyone.

AF33-5 - Automatic Transaxle



Transmission Control Module Replacement

Removal Procedure

1. Remove the battery tray.

Important: The transaxle manual shaft must be in neutral (N) position prior to re-installing the transmission control module (TCM).


2. Apply the parking brake and place control shift lever in neutral (N).




3. Remove the manual shaft detent lever (2). Refer to Automatic Transmission Range Selector Lever Replacement (AF33-5 - Automatic Transaxle).
4.
Disconnect the electrical connectors from the TCM.
5. Remove the TCM bolts (3).
6. Remove the TCM (4) by sliding off of the manual shaft.

Installation Procedure




1. Using an adjustable wrench on the manual shaft detent lever (710), turn the shaft clockwise until it stops.
2. Turn the shaft counterclockwise one position to the neutral location. To verify turning the shaft in the correct direction, on the manual shaft detent lever (710) the reverse position is larger and more resistance can be felt.




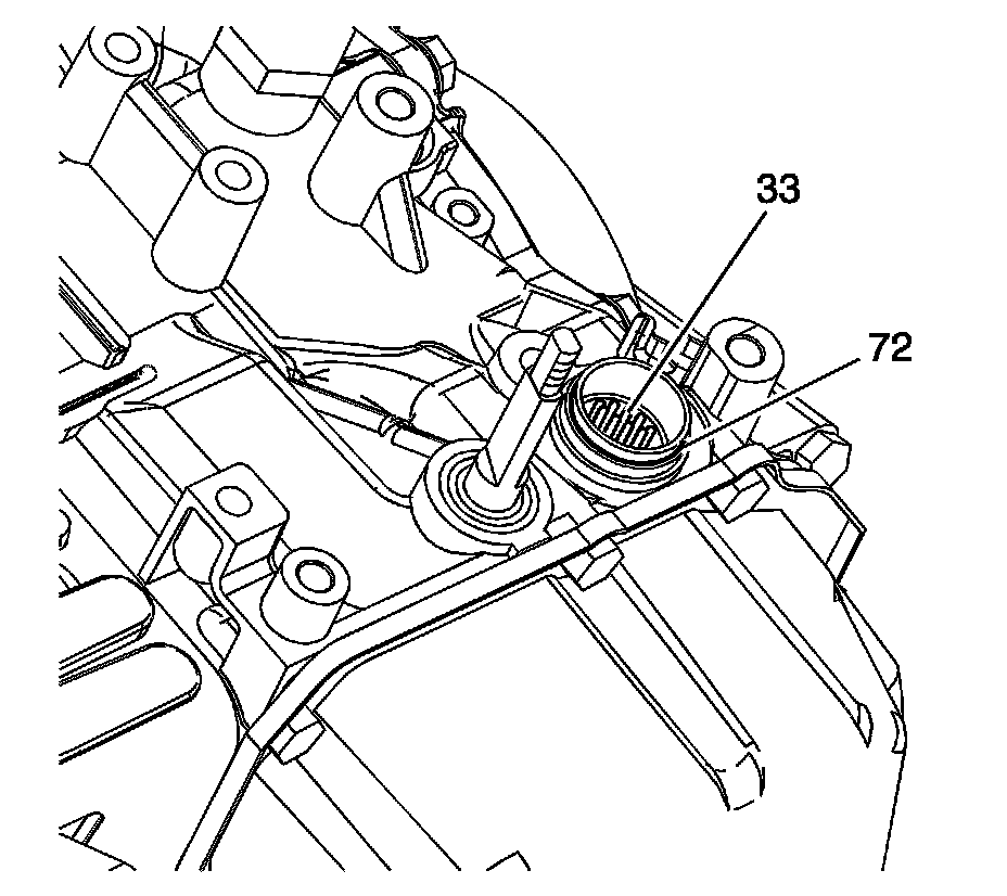
3. Inspect the condition of the connector pins on the wiring harness assembly (33) for foreign material, bent pins, or broken pins.
4. Ensure the TCM seal (72) is installed.




5. Turn the slot in the TCM to align the 2 marks. Do not turn more than 60 degrees.




6. Install the TCM (4) over the manual shaft.

Notice: Use the correct fastener in the correct location. Replacement fasteners must be the correct part number for that application. Fasteners requiring replacement or fasteners requiring the use of thread locking compound or sealant are identified in the service procedure. Do not use paints, lubricants, or corrosion inhibitors on fasteners or fastener joint surfaces unless specified. These coatings affect fastener torque and joint clamping force and may damage the fastener. Use the correct tightening sequence and specifications when installing fasteners in order to avoid damage to parts and systems.

7. Install the bolts (3).

Tighten the bolts to 25 Nm (18 lb ft).

8. Connect the electrical connectors (3, 5) to the TCM.
9. Install the manual shaft detent lever. Refer to Automatic Transmission Range Selector Lever Replacement (AF33-5 - Automatic Transaxle).
10. Install the battery tray.

Important: DTC P0602 is set with all new service transaxle control modules. When the transaxle control module is reprogrammed with the correct software and calibrations, DTC P0602 will be erased.


11. Reprogram the TCM with the correct calibration. Refer to Control Module References .
12. Perform the transmission adaptive learn procedure. Refer to Transmission Adaptive Learn and Transmission Neutral Learn (AF33-5 Automatic Transaxle).