Curiosii for ever!: Car repair manuals for everyone.

Engine Control Module



Component Connector End Views

Electronic Control Module (ECM) - X1 (LNJ)









Electronic Control Module (ECM) - X1 (LNJ) (Pin 1 To 37):





Electronic Control Module (ECM) - X1 (LNJ) (Pin 38 To 73):






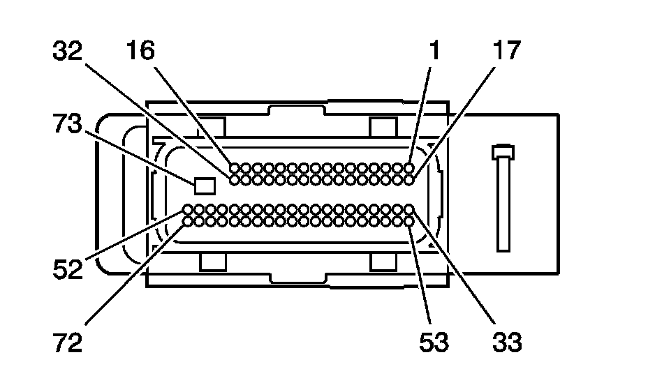
Electronic Control Module (ECM) - X2 (LNJ)









Electronic Control Module (ECM) - X2 (LNJ) (Pin 1 To 36):





Electronic Control Module (ECM) - X2 (LNJ) (Pin 37 To 80):