Curiosii for ever!: Car repair manuals for everyone.

Fuel System



FUEL SYSTEM DESCRIPTION

FUEL SYSTEM OVERVIEW
The Fuel System is a returnless on-demand design. The fuel pressure regulator is a part of the primary fuel tank module, eliminating the need for a return pipe from the engine. A returnless Fuel System reduces the internal temperature of the fuel tank by not returning hot fuel from the engine to the fuel tank. Reducing the internal temperature of the fuel tank results in lower evaporative emissions.

An electric turbine style fuel pump attaches to the primary fuel tank module inside the fuel tank. The fuel pump supplies high pressure fuel through the fuel filter, past the fuel pressure regulator, and through the fuel feed pipe to the Fuel Injection System. The fuel pressure regulator has a T-joint that diverts the needed fuel to the fuel rail with the unused fuel dropping back into the reservoir of the primary fuel tank module. The primary fuel tank module contains a reverse flow check valve. The check valve and the fuel pressure regulator maintain fuel pressure in the fuel feed pipe and the fuel rail in order to prevent long cranking times. The primary fuel tank module also contains a primary jet pump and a secondary jet pump. Fuel pump flow loss, caused by vapor expulsion in the pump inlet chamber, is diverted to the primary jet pump and the secondary jet pump through a restrictive orifice located on the pump cover. The primary jet pump fills the reservoir of the primary fuel tank module. The secondary jet pump creates a venturi action which causes the fuel to be drawn from the secondary side of the fuel tank, through the fuel transfer pipe, to the primary side of the fuel tank.

FUEL TANK




The fuel tank stores the fuel supply. The fuel tank is located in the rear of the vehicle. The fuel tank is held in place by 2 metal straps that attach to the under body of the vehicle. The fuel tank is molded from high-density polyethylene. In order to provide space for a driveshaft though the center area of the tank, the fuel tank is a saddle configuration. Because of the saddle shape of the tank two fuel tank modules are required. The primary fuel tank module is located on the right side of the tank. The secondary fuel tank module is located on the left side of the tank.

FUEL FILL PIPE




The fuel fill pipe has a built-in restrictor in order to prevent refueling with leaded fuel.

FUEL FILLER CAP

NOTE: If a fuel tank filler cap requires replacement, use only a fuel tank filler cap with the same features. Failure to use the correct fuel tank filler cap can result in a serious malfunction of the fuel and EVAP system. The fuel fill pipe has a tethered fuel filler cap. A torque-limiting device prevents the cap from being over-tightened. To install the cap, turn the cap clockwise until you hear audible clicks. This indicates that the cap is correctly torqued and fully seated. A fuel filler cap that is not fully seated may cause a malfunction in the Emission System.

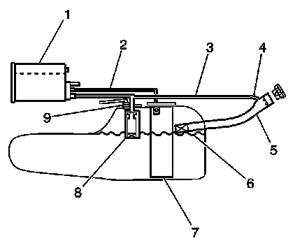
PRIMARY FUEL TANK MODULE




The primary fuel tank module is located inside of the right side of the fuel tank. The primary fuel tank module consists of the following major components:
- The fuel level sensor (4)
- The fuel pump and reservoir assembly
- The fuel strainer
- The primary jet pump
- The secondary jet pump
- The fill limiter vent valve (6)
- The fuel pressure sensor (1)
- The fuel filter (3)
- The fuel pressure regulator (5)
- The fuel transfer pipe (2)

SECONDARY FUEL TANK MODULE




The secondary fuel tank module is located inside of the left side of the fuel tank. The secondary fuel tank module consists of the following major components:
- The fuel level sensor (1)
- The fuel pick-up (2)

FUEL LEVEL SENSOR
The fuel level sensor consists of a float, a wire float arm, and a ceramic resistor card. The position of the float arm indicates the fuel level. The fuel level sensor contains a variable resistor which changes resistance in correspondence with the position of the float arm. The control module sends the fuel level information via the CAN serial data to the body control module (BCM). The instrument panel cluster (IPC) displays the fuel level as determined by the BCM. This information is used for the IPC fuel gage and the low fuel warning indicator, if applicable. The control module also monitors the fuel level input for various diagnostics.

FUEL PUMP




The fuel pump (2) is mounted in the primary fuel tank module reservoir. The fuel pump is an electric high-pressure pump. Fuel is pumped to the fuel injection system at a specified flow and pressure. The fuel pump delivers a constant flow of fuel to the engine even during low fuel conditions and aggressive vehicle maneuvers. The control module controls the electric fuel pump operation through a fuel pump relay.

PRIMARY AND SECONDARY JET PUMPS




The primary jet pump (1) is located in the primary fuel tank module. Fuel pump flow loss, caused by vapor expulsion in the pump inlet chamber, is diverted to the primary jet pump and the secondary jet pump (2) through a restrictive orifice located on the pump cover. The primary jet pump fills the reservoir of the primary fuel tank module.




The secondary jet pump (1) creates a venturi action which causes the fuel to be drawn from the secondary side of the fuel tank, through the transfer pipe, to the primary side of the fuel tank.

FUEL STRAINER
The fuel strainer attaches to the lower end of the primary fuel tank module. The fuel strainer is made of woven plastic. The functions of the fuel strainer are to filter contaminants and to wick fuel. The fuel strainer normally requires no maintenance. Fuel stoppage at this point indicates that the fuel tank contains an abnormal amount of sediment or contamination.

FUEL FILTER




The fuel filter (1) is located in the primary fuel tank module. The paper filter element traps particles in the fuel that may damage the fuel injection system. The filter housing is made to withstand maximum fuel system pressure, exposure to fuel additives, and changes in temperature.

FUEL PRESSURE REGULATOR
The fuel pressure regulator is integrated into the fuel filter cover on the primary fuel tank module. The fuel pressure regulator uses a spring with a preset tension and a stainless steel ball inserted into a precision ground seat in order to regulate fuel pressure. This type of fuel pressure regulator is not serviceable.

FUEL FEED PIPES
The fuel feed pipe carries fuel from the fuel tank to the fuel injection system. The fuel pipe consists of 3 sections:
- The rear fuel pipe is located from the top of the fuel tank to the chassis fuel pipe. The rear fuel pipe is constructed of nylon.
- The chassis fuel pipe is located under the vehicle and connects the rear fuel pipe to the engine compartment fuel pipe. The chassis fuel pipe is constructed of steel with a section of rubber hose.
- The engine compartment fuel pipe connects the chassis fuel feed pipe to the fuel rail. The engine compartment fuel pipe is constructed of steel.

NYLON FUEL PIPES

CAUTION: In order to reduce the risk of fire and personal injury observe the following items:
- Replace all nylon fuel pipes that are nicked, scratched or damaged during installation, do not attempt to repair the sections of the nylon fuel pipes
- Do not hammer directly on the fuel harness body clips when installing new fuel pipes. Damage to the nylon pipes may result in a fuel leak.
- Always cover nylon vapor pipes with a wet towel before using a torch near them. Also, never expose the vehicle to temperatures higher than 115°C (239°F) for more than one hour, or more than 90°C (194°F) for any extended period.
- Apply a few drops of clean engine oil to the male pipe ends before connecting fuel pipe fittings. This will ensure proper reconnection and prevent a possible fuel leak. (During normal operation, the O-rings located in the female connector will swell and may prevent proper reconnection if not lubricated.)


Nylon pipes are constructed to withstand maximum fuel system pressure, exposure to fuel additives, and changes in temperature. The following 2 sizes of nylon pipes are used:
- 9.53 mm (3/8 in) ID for the fuel feed
- 12.7 mm (1/2 in) ID for the vent

Heat resistant rubber hose or corrugated plastic conduit protect the sections of the pipes that are exposed to chafing, high temperature, or vibration. Nylon fuel pipes are somewhat flexible and can be formed around gradual turns under the vehicle. However, if nylon fuel pipes are forced into sharp bends, the pipes kink and restrict the fuel flow. Also, once exposed to fuel, nylon pipes may become stiffer and are more likely to kink if bent too far. Take special care when working on a vehicle with nylon fuel pipes.

QUICK-CONNECT FITTINGS
Quick-connect fittings provide a simplified means of installing and connecting fuel system components. The fittings consist of a unique female connector and a compatible male pipe end. O-rings, located inside the female connector, provide the fuel seal. Integral locking tabs inside the female connector hold the fittings together.

FUEL PIPE O-RINGS
O-rings seal the threaded connections in the fuel system. The fuel system O-ring seals are made of special material. Service the O-ring seals with the correct service part.

ON-BOARD REFUELING VAPOR RECOVERY SYSTEM (ORVR)




The on-board refueling vapor recovery (ORVR) system is an on-board vehicle system designed to recover fuel vapors during the vehicle refueling operation. Instead of allowing fuel vapors to escape to the atmosphere the ORVR system transports the vapor to the evaporative emission (EVAP) canister for use by the engine. The flow of liquid fuel down the fuel filler neck provides a liquid seal that prevents fuel vapor from leaving the fuel system. The ORVR system architecture varies from platform to platform. Some of the items listed below are optional depending on the platform application. The following is a list of all the ORVR system components with a brief description of their operation:
- The EVAP canister (1). The EVAP canister receives and stores refueling vapor from the fuel system. The EVAP canister releases the fuel vapor to the engine through the EVAP control system.
- The vapor lines (2). The vapor lines transport fuel vapor from the fuel tank assembly to the EVAP canister.
- The vapor recirculation line (3), if equipped. The vapor recirculation line transports fuel vapor from the fuel tank to the top of the fuel filler pipe during refueling in order to reduce the fuel vapor at the canister. The vapor recirculation line can be located inside the fuel filler pipe or outside of the fuel filler pipe.
- The variable orifice valve (4), if equipped. The variable orifice valve regulates the amount of vapor allowed to enter the vapor recirculation line.
- The fuel filler pipe (5). The fuel filler pipe carries fuel from the fuel dispensing nozzle to the fuel tank.
- The check valve (6). The check valve limits fuel spitback from the fuel tank during the refueling operation by allowing fuel flow only into the fuel tank. The check valve is located at the bottom of the fuel filler pipe or in the fuel tank filler neck.
- The fuel sender assembly (7). The fuel sender assembly pumps fuel to the engine from the fuel tank.
- The fill limiter vent valve (8). The fill limiter vent valve is located in the fuel tank and acts as a shut-off valve. The fill limiter vent valve performs the following functions:
- Controls the fuel tank fill level by closing the primary vent of the fuel tank.
- Prevents liquid fuel from exiting the fuel tank through the vapor line and entering the EVAP canister.
- Provides fuel-spillage protection in the event of a vehicle rollover by closing the vapor path from the tank to the EVAP canister.
- The pressure/vacuum relief valve (9), if equipped. The pressure/vacuum relief valve provides venting of excessive fuel tank pressure or vacuum. The pressure/vacuum relief valve is located in the fuel filler neck on a plastic fuel tank and in the fill limiter vent valve on a steel fuel tank.

FUEL RAIL ASSEMBLY
The fuel rail assembly attaches to the engine intake manifold. The fuel rail assembly performs the following functions:
- Positions the injectors in the intake manifold
- Distributes fuel evenly to the injectors
- Integrates the fuel pulse dampener into the fuel metering system

FUEL INJECTORS




The fuel injector assembly is a solenoid device controlled by the control module that meters pressurized fuel to a single engine cylinder. The control module energizes the high-impedance, 12 ohm, injector solenoid (4) to open a normally closed ball valve (1). This allows fuel to flow into the top of the injector, past the ball valve, and through a director plate (3) at the injector outlet. The director plate has machined holes that control the fuel flow, generating a spray of finely atomized fuel at the injector tip. Fuel from the injector tip is directed at the intake valve, causing the fuel to become further atomized and vaporized before entering the combustion chamber. This fine atomization improves fuel economy and emissions.

FUEL METERING MODES OF OPERATION
The control module monitors voltages from several sensors in order to determine how much fuel to give the engine. The control module controls the amount of fuel delivered to the engine by changing the fuel injector pulse width. The fuel is delivered under one of several modes.

Starting Mode
When the ignition is first turned ON, the control module energizes the fuel pump relay for 2 seconds. This allows the fuel pump to build pressure in the fuel system. The control module calculates the air/fuel ratio based on inputs from the engine coolant temperature (ECT), manifold absolute pressure (MAP), and throttle position (TP) sensors. The system stays in starting mode until the engine speed reaches a predetermined RPM.

Clear Flood Mode
If the engine floods, clear the engine by pressing the accelerator pedal down to the floor and then crank the engine. When the TP sensor is at wide open throttle (WOT), the control module reduces the fuel injector pulse width in order to increase the air to fuel ratio. The control module holds this injector rate as long as the throttle stays wide open and the engine speed is below a predetermined RPM. If the throttle is not held wide open, the control module returns to the starting mode.

Run Mode
The run mode has 2 conditions called Open Loop and Closed Loop. When the engine is first started and the engine speed is above a predetermined RPM, the system begins Open Loop operation. The control module ignores the signal from the heated oxygen sensor (HO2S). The control module calculates the air/fuel ratio based on inputs from the ECT, MAP, and TP sensors. The system stays in Open Loop until meeting the following conditions:
- The HO2S has varying voltage output, showing that the HO2S is hot enough to operate properly.
- The ECT sensor is above a specified temperature.
- A specific amount of time has elapsed after starting the engine.

Specific values for the above conditions exist for this engine, and are stored in the electrically erasable programmable read-only memory (EEPROM). The system begins Closed Loop operation after reaching these values. In Closed Loop, the control module calculates the air/fuel ratio, injector ON time, based upon the signal from various sensors, but mainly from the HO2S. This allows the air/fuel ratio to stay very close to 14.7:1.

Acceleration Mode
When the driver pushes on the accelerator pedal, air flow into the cylinders increases rapidly. To prevent possible hesitation, the control module increases the pulse width to the injectors to provide extra fuel during acceleration. This is also known as power enrichment. The control module determines the amount of fuel required based upon the TP, the ECT, the MAP, and the engine speed.

Deceleration Mode
When the driver releases the accelerator pedal, air flow into the engine is reduced. The control module monitors the corresponding changes in the TP and the MAP. The control module shuts OFF fuel completely if the deceleration is very rapid, or for long periods, such as long, closed-throttle coast-down. The fuel shuts OFF in order to prevent damage to the catalytic converters.

Battery Voltage Correction Mode
When the battery voltage is low, the control module compensates for the weak spark delivered by the ignition system in the following ways:
- Increasing the amount of fuel delivered
- Increasing the idle RPM
- Increasing the ignition dwell time

Fuel Cutoff Mode
The control module cuts OFF fuel from the fuel injectors when the following conditions are met in order to protect the powertrain from damage and improve driveability:
- The ignition is OFF. This prevents engine run-on.
- The ignition is ON but there is no ignition reference signal. This prevents flooding or backfiring.
- The engine speed is too high, above red line.
- The vehicle speed is too high, above rated tire speed.
- During an extended, high speed, closed throttle coast down-This reduces emissions and increases engine braking.
- During extended deceleration, in order to prevent damage to the catalytic converters

FUEL TRIM
The control module controls the air/fuel metering system in order to provide the best possible combination of driveability, fuel economy, and emission control. The control module monitors the HO2S signal voltage while in Closed Loop and regulates the fuel delivery by adjusting the pulse width of the injectors based on this signal. The ideal fuel trim (FT) values are around 0 percent for both short and long term FT. A positive FT value indicates the control module is adding fuel in order to compensate for a lean condition by increasing the pulse width. A negative FT value indicates that the control module is reducing the amount of fuel in order to compensate for a rich condition by decreasing the pulse width. A change made to the fuel delivery changes the long and short term FT values. The short term FT values change rapidly in response to the HO2S signal voltage. These changes fine tune the engine fueling. The long term FT makes coarse adjustments to fueling in order to re-center and restore control to short term FT. A scan tool can be used to monitor the short and long term FT values. The long term FT diagnostic is based on an average of several of the long term speed load learn cells. The control module selects the cells based on the engine speed and engine load. If the control module detects an excessively lean or rich condition, the control module will set a FT DTC.