Unit Repair Manual
Disassembled Views
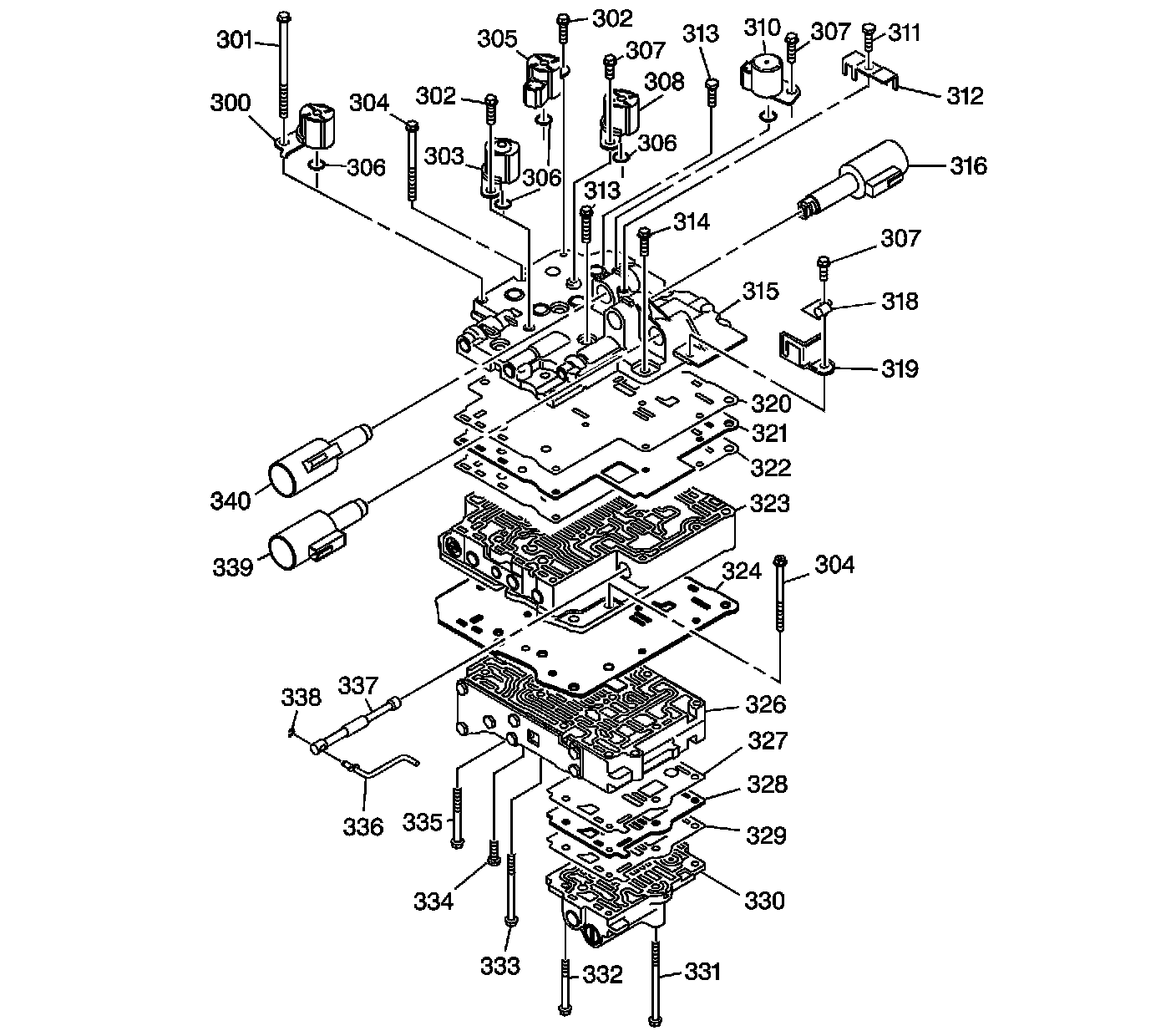
Control Valve Body Assembly:
300 - 1-2, 2-3, Reverse Shift Solenoid Valve Assembly (S3) - Dark Gray
301 - Control Valve Body Bolt/Screw (M5 x 0.8 x 62)
302 - Control Valve Body Bolt/Screw (M5 x 0.8 x 28) (2)
302 - Control Valve Body Bolt/Screw (M5 x 0.8 x 28) (2)
302 - Control Valve Body Bolt/Screw (M5 x 0.8 x 28) (2)
303 - 3-4, 4-5 Shift Solenoid Valve Assembly (S4) - Blue
304 - Control Valve Body Bolt/Screw (M5 x 0.8 x 50) (2)
304 - Control Valve Body Bolt/Screw (M5 x 0.8 x 50) (2)
305 - Reverse Shift Solenoid Valve Assembly (S5) - Brown
306 - Shift Solenoid Valve O-ring Seal (5)
306 - Shift Solenoid Valve O-ring Seal (5)
306 - Shift Solenoid Valve O-ring Seal (5)
307 - Control Valve Body Bolt/Screw (M5 x 0.8 x 10) (3)
307 - Control Valve Body Bolt/Screw (M5 x 0.8 x 10) (3)
307 - Control Valve Body Bolt/Screw (M5 x 0.8 x 10) (3)
308 - 2-3, 3-4 Shift Solenoid Valve Assembly (S2) - Black
310 - Reverse, 1st Shift Solenoid Valve Assembly (S1) - Black
311 - Control Valve Body Bolt/Screw (M5 x 0.8 x 13)
312 - Control Valve Body Solenoid Valve Retainer
313 - Control Valve Body Bolt/Screw (M5 x 0.8 x 20) (5)
313 - Control Valve Body Bolt/Screw (M5 x 0.8 x 20) (5)
314 - Control Valve Body Bolt/Screw (M5 x 0.8 x 16) (2)
315 - Front Control Valve Body Assembly
316 - Line Pressure Control Solenoid Valve Assembly (SLT) - Blue
318 - Automatic Transmission Wiring Harness Clip
319 - TCC Lock Up Control Solenoid Valve Retainer (SLU)
320 - Front Control Valve Body to Front Control Valve Body Spacer Plate Gasket
321 - Front Control Valve Body Spacer Plate
322 - Front Control Valve Body Spacer Plate to Middle Control Valve Body Gasket
323 - Middle Control Valve Body Assembly
324 - Middle Control Valve Body Assembly to Rear Control Valve Body Spacer Plate and Gasket Assembly
326 - Rear Control Valve Body Assembly
327 - Rear Control Valve Body to Rear Control Valve Body Spacer Plate Gasket
328 - Rear Control Valve Body Assembly Spacer Plate
329 - Rear Control Valve Body Assembly Spacer Plate to No. 2 Rear Control Valve Body Assembly Gasket
330 - No. 2 Rear Control Valve Body Assembly
331 - Control Valve Body Bolt/Screw (M5 x 0.8 x 76)
332 - Control Valve Body Bolt/Screw (M5 x 0.8 x 49.5) (4)
333 - Control Valve Body Bolt/Screw (M5 x 0.8 x 40)
334 - Control Valve Body Assembly Pressure Test Hole Bolt/Screw Pressure Tap (M6 x 1.0 x 12) (1)
335 - Control Valve Body Bolt/Screw (M5 x 0.8 x 35) (2)
336 - Manual Valve Link
337 - Manual Valve
338 - Manual Valve Link Retainer
339 - TCC Lock Up Pressure Control Solenoid Valve Assembly (SLU) - Black
340 - Shift Pressure Control Solenoid Valve Assembly (SLS) - Green
Front Control Valve Body Assembly:
345 - Front Control Valve Body
346 - Solenoid Modulator Valve
347 - Solenoid Modulator Valve Spring - Yellow
348 - Solenoid Modulator Valve Bore Plug (4)
348 - Solenoid Modulator Valve Bore Plug (4)
348 - Solenoid Modulator Valve Bore Plug (4)
348 - Solenoid Modulator Valve Bore Plug (4)
349 - Sleeve/Bore Plug Retainer (3.2 x 5 x 10) (4)
349 - Sleeve/Bore Plug Retainer (3.2 x 5 x 10) (4)
349 - Sleeve/Bore Plug Retainer (3.2 x 5 x 10) (4)
349 - Sleeve/Bore Plug Retainer (3.2 x 5 x 10) (4)
350 - Pressure Relief Valve Spring - Natural Color
351 - Pressure Relief Valve
352 - Fluid Strainer
354 - Forward Clutch (C1) Control Valve
355 - Ball Check Valve
356 - Neutral Relay Valve
357 - Neutral Relay Valve Spring - Light Blue
358 - 2nd Coast Clutch (B1) Control Valve Spring - Blue
359 - 2nd Coast Clutch (B1) Control Valve
360 - Check Valve (2)
361 - Check Valve Spring (2)
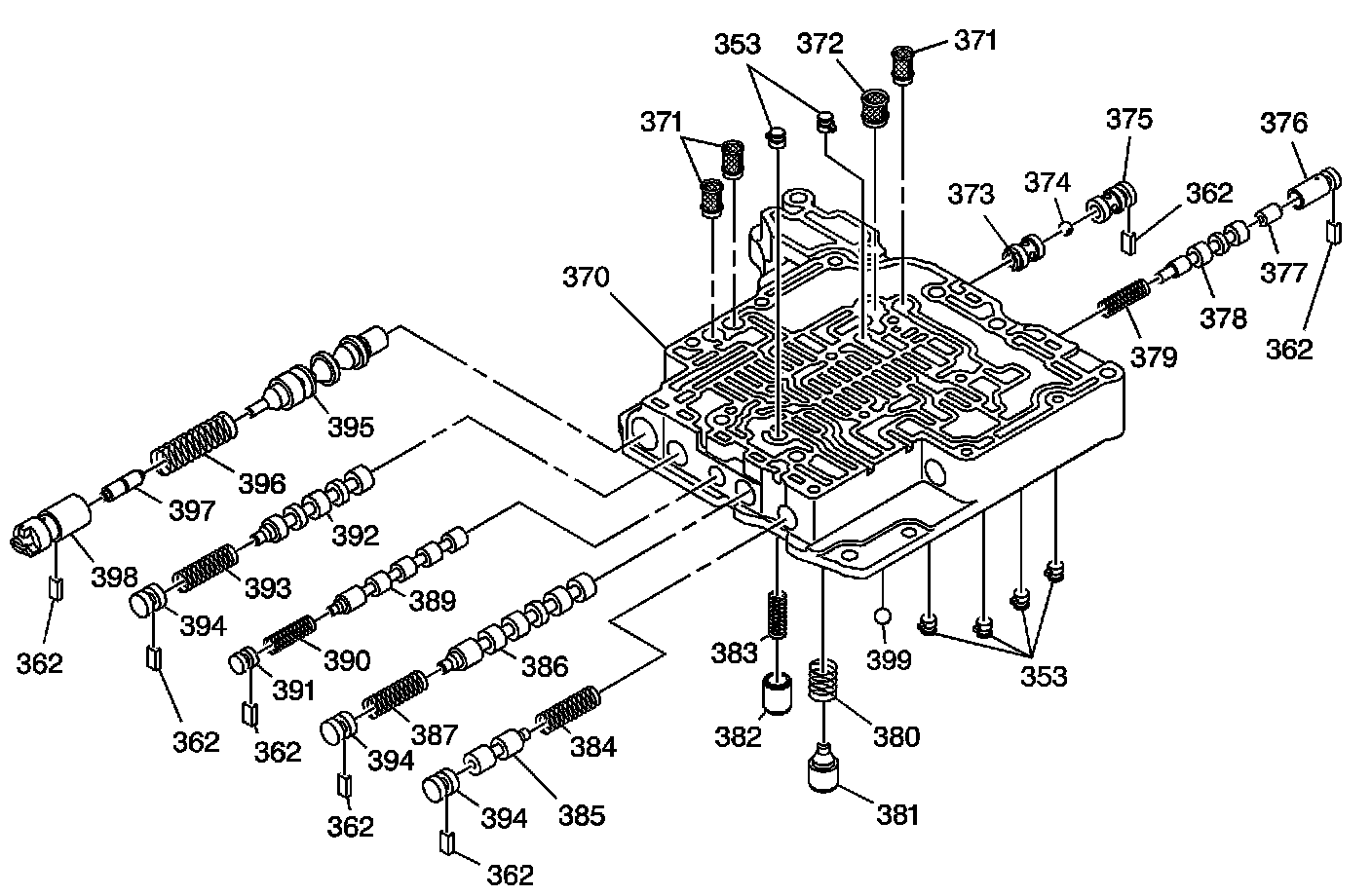
Middle Control Valve Body Assembly:
353 - Accumulator Check Valve Assembly (6)
353 - Accumulator Check Valve Assembly (7)
362 - Sleeve/Bore Plug Retainer (3.2 x 5 x 12.5) (7)
362 - Sleeve/Bore Plug Retainer (3.2 x 5 x 12.5) (7)
362 - Sleeve/Bore Plug Retainer (3.2 x 5 x 12.5) (7)
362 - Sleeve/Bore Plug Retainer (3.2 x 5 x 12.5) (7)
362 - Sleeve/Bore Plug Retainer (3.2 x 5 x 12.5) (7)
362 - Sleeve/Bore Plug Retainer (3.2 x 5 x 12.5) (7)
362 - Sleeve/Bore Plug Retainer (3.2 x 5 x 12.5) (7)
370 - Middle Control Valve Body
371 - Fluid Strainer (3)
371 - Fluid Strainer (3)
372 - Fluid Strainer
373 - Reverse Shift Ball Check Valve Bushing - Inner
374 - Reverse Shift Ball Check Valve
375 - Reverse Shift Ball Check Valve Bushing - Outer
376 - Solenoid Relay Valve Sleeve
377 - Solenoid Relay Valve Plunger
378 - Solenoid Relay Valve
379 - Solenoid Relay Valve Spring - Orange
380 - Cooler By-Pass Valve Spring - Natural Color
381 - Cooler By-Pass Valve
382 - TCC Check Valve
383 - TCC Check Valve Spring - Yellow
384 - 3rd Gear Band (B4) Release Valve Spring - Blue
385 - 3rd Gear Band (B4) Release Valve
386 - U1 Shift Valve
387 - U1 Shift Valve Spring - Light Green
389 - M1 Shift Valve
390 - M1 Shift Valve Spring - Light Blue
391 - M1 Shift Valve Bore Plug
392 - U2 Shift Valve
393 - U2 Shift Valve Spring - Light Green
394 - U2 Shift Valve Bore Plug (3)
394 - U2 Shift Valve Bore Plug (3)
394 - U2 Shift Valve Bore Plug (3)
395 - Primary Regulator Valve
396 - Primary Regulator Valve Spring - Purple
397 - Primary Regulator Valve Plunger
398 - Primary Regulator Valve Sleeve
399 - Forward Clutch Check Ball
Rear Control Valve Body Assembly:
410 - Rear Control Valve Body
411 - 1-2 Reverse Clutch (B5) Control Valve
412 - Lock Up Relay Control Valve Sleeve
413 - Lock Up Relay Control Valve Plunger
414 - Lock Up Relay Valve Spring - Red
415 - Lock Up Relay Valve
416 - Rear Valve Body Cover Plate Bolt - Hexagon (M5 x 0.8 x 13) (2)
417 - Rear Valve Body Cover Plate
418 - Rear Valve Body Cover Plate Gasket
419 - Rear Valve Body Cover Plate Gasket
420 - Rear Valve Body Cover Plate
421 - Rear Valve Body Cover Plate Bolt - Hexagon (M5 x 0.8 x 13) (7)
422 - 3rd Gear Band (B4) Control Valve Spring - Orange
423 - 3rd Gear Band (B4) Control Valve
424 - Shift Pressure Relay Valve
425 - Shift Pressure Relay Valve Spring - Light Green
426 - M2 Shift Valve
427 - M2 Shift Valve Spring - Light Blue
428 - Shift Pressure Control Valve Sleeve
429 - Shift Pressure Control Valve Spring - White
430 - Shift Pressure Control Valve
431 - Shift Pressure Control Valve Plunger
432 - Shift Pressure Control Valve Plunger Sleeve
433 - Line Pressure Control (SLT) Accumulator Piston
434 - Line Pressure Control (SLT) Accumulator Piston Spring - Outer - Orange
435 - Line Pressure Control (SLT) Accumulator Piston Spring - Inner - Orange
436 - Secondary Regulator Valve
437 - Secondary Regulator Valve Spring - Natural Color
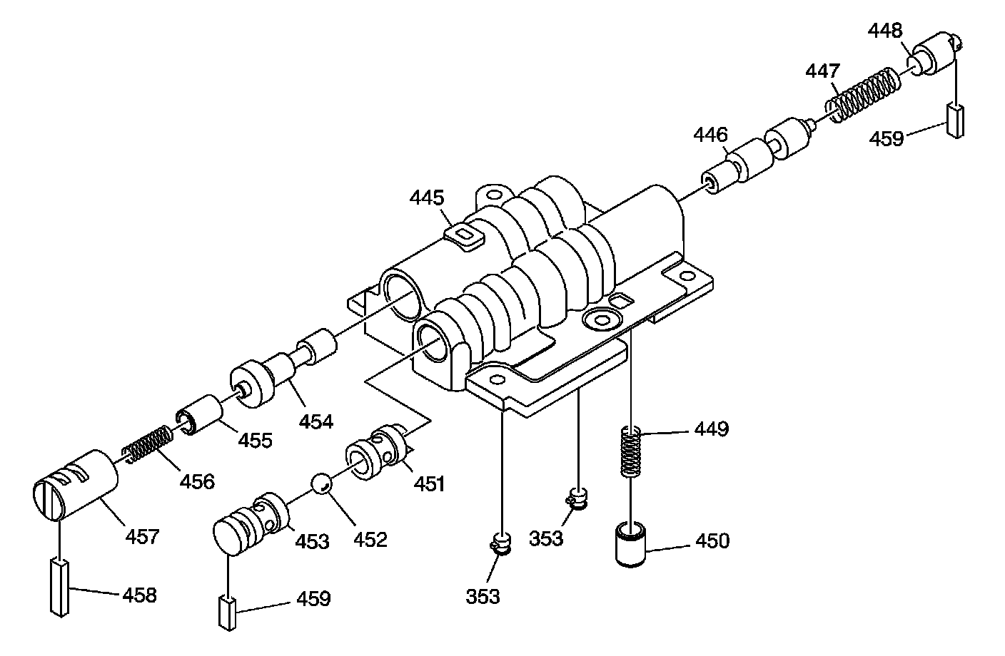
No. 2 Rear Control Valve Body Assembly:
353 - Accumulator Check Valve Assembly (2)
353 - Accumulator Check Valve Assembly (2)
445 - No. 2 Rear Control Valve Body
446 - 2nd Clutch (B2) Control Valve
447 - 2nd Clutch (B2) Control Valve Spring - Natural Color
448 - 2nd Clutch (B2) Control Valve Plug
449 - TCC Check Valve Spring - Light Blue
450 - TCC Check Valve
451 - Reverse Shift Restrict Ball Check Valve Bushing - Inner
452 - Reverse Shift Restrict Ball Check Valve
453 - Reverse Shift Restrict Ball Check Valve Bushing - Outer
454 - Lock Up Control Valve
455 - Lock Up Control Valve Plunger
456 - Lock Up Control Valve Spring - Yellow
457 - Lock Up Control Valve Sleeve
458 - Sleeve/Bore Plug Retainer (3.2 x 5 x 21.2)
459 - Sleeve/Bore Plug Retainer (3.2 x 5 x 15) (2)
459 - Sleeve/Bore Plug Retainer (3.2 x 5 x 15) (2)