Curiosii for ever!: Car repair manuals for everyone.

Air Bag Control Module: Service and Repair

INFLATABLE RESTRAINT SENSING AND DIAGNOSTIC MODULE REPLACEMENT

REMOVAL PROCEDURE

CAUTION:
- Do not strike or jolt the inflatable restraint sensing and diagnostic module (SDM). Before applying power to the SDM, make sure that it is securely fastened with the arrow facing toward the front of the vehicle. Failure to observe the correct installation procedure could cause SIR deployment, personal injury, or unnecessary SIR system repairs.
- Refer to SIR Caution in Service Precautions.


1. Disable the SIR system. Refer to SIR Disabling and Enabling Zone 9.
2. Remove the passenger front seat.
3. Remove the passenger front carpet retainer. Roll back the carpet.
4. Remove the right side cowl trim panel.
5. Remove the right side insulator panel.




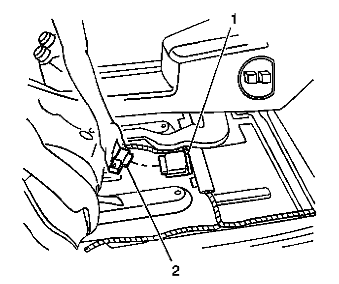
6. Remove the connector position assurance (CPA) (3) from the SDM wiring harness connector (2) on the inflatable restraint.




7. Disconnect the SDM wiring harness connector (2) from the SDM (1).




8. Remove the SDM mounting fasteners (1).
9. Remove the SDM (2) from the vehicle.

INSTALLATION PROCEDURE




1. Remove any dirt, grease, and other contaminants from the mounting surface.
2. Install the SDM (2) horizontally to the vehicle.
3. Point the arrow on the SDM toward the front of the vehicle.

NOTE: Refer to Fastener Notice in Service Precautions.

4. Install the SDM mounting fasteners (1).

Tighten
Tighten the fasteners to 10 N.m (89 lb in).




5. Install the SDM wiring harness connector (2) to the SDM (1).




6. Install the CPA (3) to the SDM wiring harness connector (2).
7. Place the carpet to cover the SDM. Install the carpet retainer.
8. Install the right side insulator panel.
9. Install the right side cowl trim panel.
10. Install the passenger front seat.
11. Enable the SIR system. Refer to SIR Disabling and Enabling Zone 9.

IMPORTANT: The AIR BAG indicator may remain ON after the SDM has been replaced. DTC B1001 may set requiring the SDM part number to be set in multiple modules. If the indicator remains ON after enabling the SIR system, perform the diagnostic system check and follow the steps thoroughly to ensure that the SDM is set properly.

12. Reprogram the BCM. Programming and Relearning