Curiosii for ever!: Car repair manuals for everyone.

Global Positioning System Module: Service and Repair

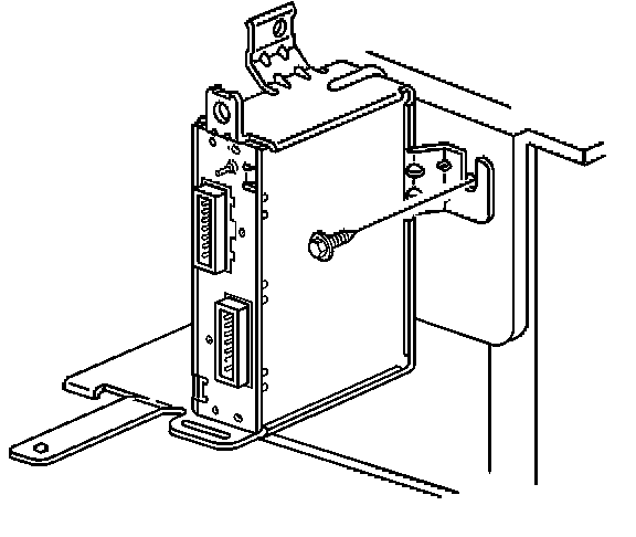
COMMUNICATION INTERFACE MODULE REPLACEMENT

REMOVAL PROCEDURE

IMPORTANT: The vehicle communication interface module (VCIM) has a specific set of unique numbers that tie the module to each vehicle. These numbers, the 10-digit station identification and the 11-digit electronic serial number, are used by the National Cellular Network and OnStar(R) to identify the specific vehicle. Because these numbers are tied to the vehicle identification number of the vehicle, you must never exchange these parts with those of another vehicle.

1. Remove the right insulator panel.
2. Remove the instrument panel compartment.




3. Remove the screws securing the VCIM bracket to the instrument panel metal brace.




4. Disconnect the electrical connectors.
5. Disconnect the cell antenna coaxial cable from the VCIM.

IMPORTANT: The old VCIM must be returned for core credit.

6. Remove the VCIM from the bracket and the vehicle.

INSTALLATION PROCEDURE
1. When replacing a VCIM, record the 11-digit electronic serial number (ESN) and the 10-digit station identification (STID) number from the label on the new VCIM.




2. Connect the electrical connectors to the module.
3. Connect the cell antenna coaxial cable to the VCIM.

NOTE: Refer to Fastener Notice in Service Precautions.

4. Install the screws that secure the bracket to the instrument panel brace.

Tighten
Tighten the screws to 10 N.m (89 lb in).

5. Install the I/P compartment.
6. Install the right insulator panel.

IMPORTANT: After replacing the vehicle communication interface module, you must reconfigure the OnStar(R) system. Failure to reconfigure the system will result in an additional customer visit for repair. In addition, pressing and holding the white dot button on the keypad will NOT reset this version of the OnStar(R) system. This action will cause a DTC to set.

7. Reconfigure the OnStar(R) system. Refer to OnStar(R) Reconfiguration. Programming and Relearning