Curiosii for ever!: Car repair manuals for everyone.

Power Window Switch Replacement - Right Front

POWER WINDOW SWITCH REPLACEMENT - RIGHT FRONT

REMOVAL PROCEDURE




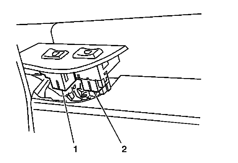
1. Remove the front door window switch plate from the front door trim panel using a small flat-bladed tool at the front of the power window control plate.
2. Disconnect the electrical connector from the front door window control switch.
3. Remove the front door window control switch plate from the front door trim panel.
4. Remove the front door window control switch (1) from the front door window switch plate using a small flat-bladed tool.

INSTALLATION PROCEDURE




1. Install the front door window control switch (1) into the front door window switch plate pressing into place until fully seated.
2. Connect the electrical connectors to the front door window control switch.
3. Install the front door window control switch plate to the front door panel pressing into place until fully seated.