Curiosii for ever!: Car repair manuals for everyone.

Measuring Wheel Alignment

Measuring Wheel Alignment
Satisfactory vehicle operation may occur over a wide range of alignment settings. If settings vary beyond the specifications, correct the alignment angles.
1. Measure the front alignment angles.
2. Install the alignment equipment according to the manufacturer's instructions.
3. Jounce the front and rear bumpers lightly three times in order to normalize the suspension prior to measuring the angles.
4. Measure the alignment angles and record the readings. If adjustments are required, make the adjustments in the following order:
4.1. Camber
4.2. Caster
4.3. Toe

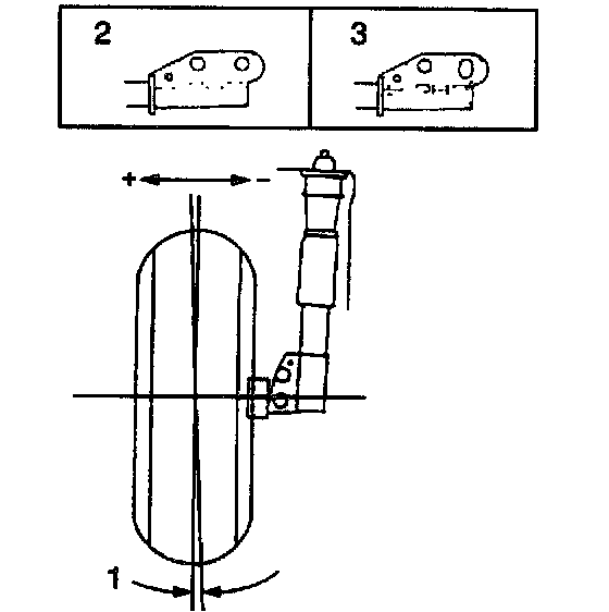
Front Camber Adjustment





1. Raise and support the vehicle. Refer to Vehicle Lifting.
2. Remove the tire and wheel.
3. Remove the strut lower bolt in order to inspect for an oblong strut lower hole (3). If the strut lower hole is oblong, loosen the strut upper bolt in order to allow for camber adjustment.
If the strut lower hole is NOT oblong, perform the following steps:
3.1. Remove the strut from the vehicle.
3.2. Secure the strut in a vise.
3.3. File the strut lower hole laterally (3) in order to allow for camber adjustment.
3.4. Install the strut to the vehicle.
3.5. Install the strut bolts.

Notice: Refer to Fastener Notice in Service Precautions.

4. Adjust the camber.
^ Tighten the strut lower nuts to 123 Nm (90 ft. lbs.).
5. Install the tire and wheel.
6. Lower the vehicle.

Front Toe Adjustment





1. Remove the power steering gear seal small clamps.
2. Ensure that the steering wheel is centered and the wheels are in the straight ahead position.
3. Loosen the left and right tie rod jam nuts (2).

Important: Ensure that the number of threads showing on both inner tie rod ends are approximately equal.

4. Rotate the inner tie rods in order to obtain the proper toe angle of 0 degrees.

Notice: Refer to Fastener Notice in Service Precautions.

5. Install the tie rod end jam nuts.
^ Tighten the left and right tie rod jam nuts (2) to 68 Nm (50 ft. lbs.).

Important: Ensure the power steering gear seal is not twisted.

6. Install the power steering gear seal small clamps.

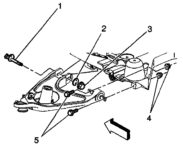
Rear Camber Adjustment (AWD)

Removal Procedure





1. Place vehicle on alignment machine with rear wheels supported by Weaver plates.
2. Loosen rear lower control arm mounting nuts (3, 4).
3. Adjust camber with cam bolt (1).
4. Confirm correct camber value.
5. Check toe alignment and adjust if required.

Installation Procedure

Notice: Refer to Fastener Notice in Service Precautions.





1. Tighten the lower control arm mounting nuts (3, 4).
^ Tighten the nut (3) 125 Nm (107 ft. lbs.); tighten (4) to 50 Nm (37 ft. lbs.).
2. Test drive the vehicle.
Rear Toe Adjustment

Important:Make any adjustments to camber before setting toe.





1. Loosen the jam nut (6) at the rear wheel tie rod.
2. Adjust the toe to the proper setting by turning the inner link adjustment hex (4).

Notice: Refer to Fastener Notice in Service Precautions.

3. When the toe adjustment is correct, tighten the jam nut.
^ Tighten the nut to 62 Nm (45 ft. lbs.).
4. Recheck the toe alignment.