Curiosii for ever!
: Car repair manuals for everyone.
Home
>>
Pontiac Truck
>>
2001
>>
Aztek V6-3.4L VIN E
>>
Repair and Diagnosis
>>
Diagrams
>>
Exploded Views
>>
Transfer Case
>>
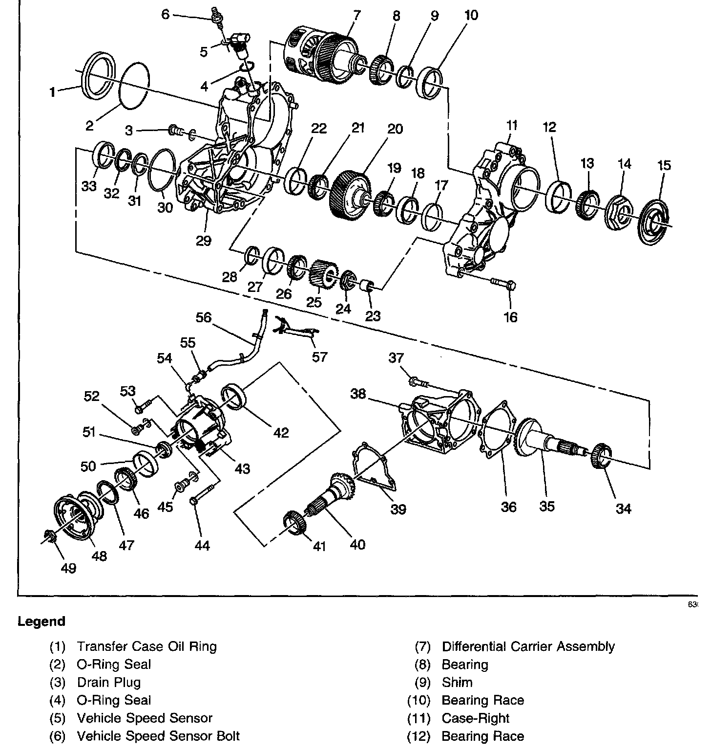
Transfer Case Assembly
Transfer Case Assembly
Part 1 of 2
Part 2 of 2
Transfer Case
Assembly