Curiosii for ever!
: Car repair manuals for everyone.
Home
>>
Oldsmobile
>>
2004
>>
Alero L4-2.2L VIN F
>>
Repair and Diagnosis
>>
Powertrain Management
>>
Transmission Control Systems
>>
Diagrams
>>
Electrical Diagrams
>>
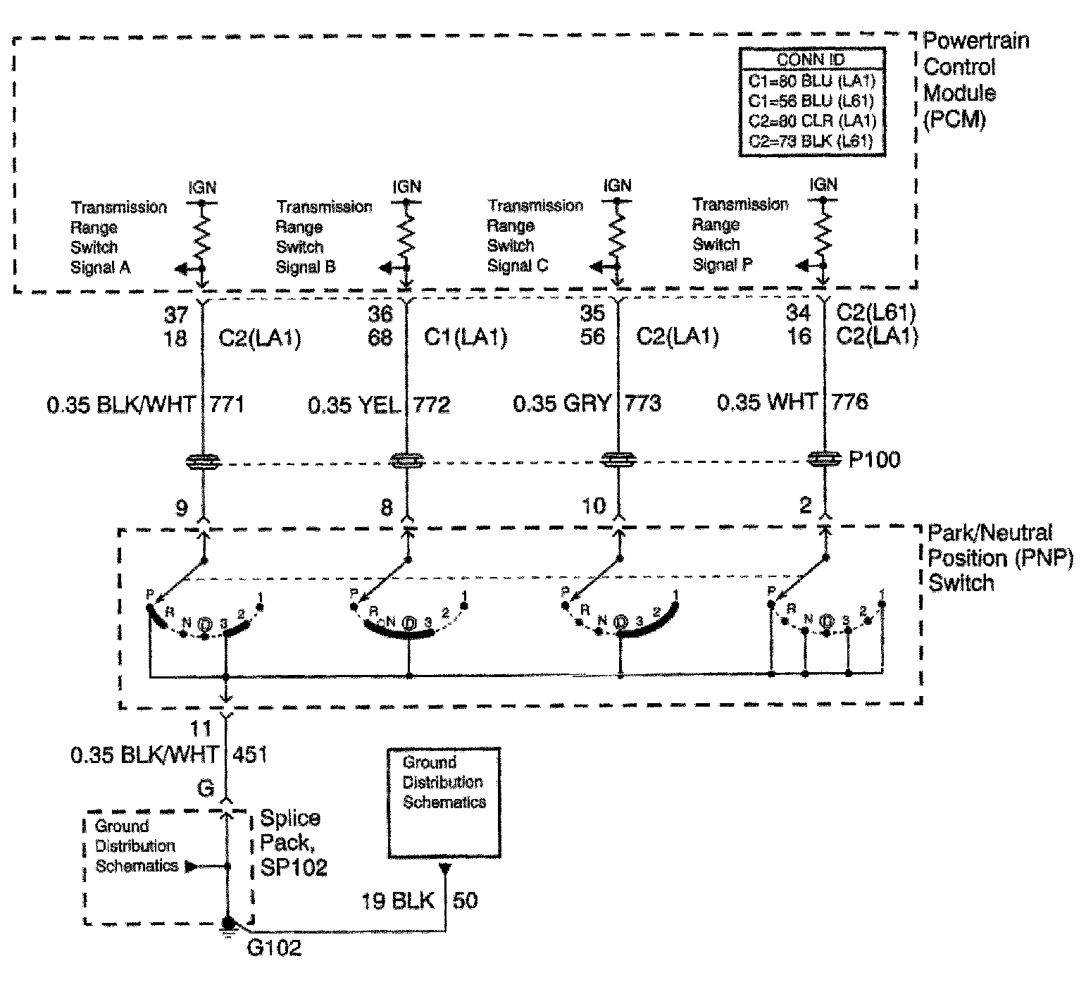
PNP Switch
PNP Switch
Automatic Transmission Controls Diagram (PNP Switch):