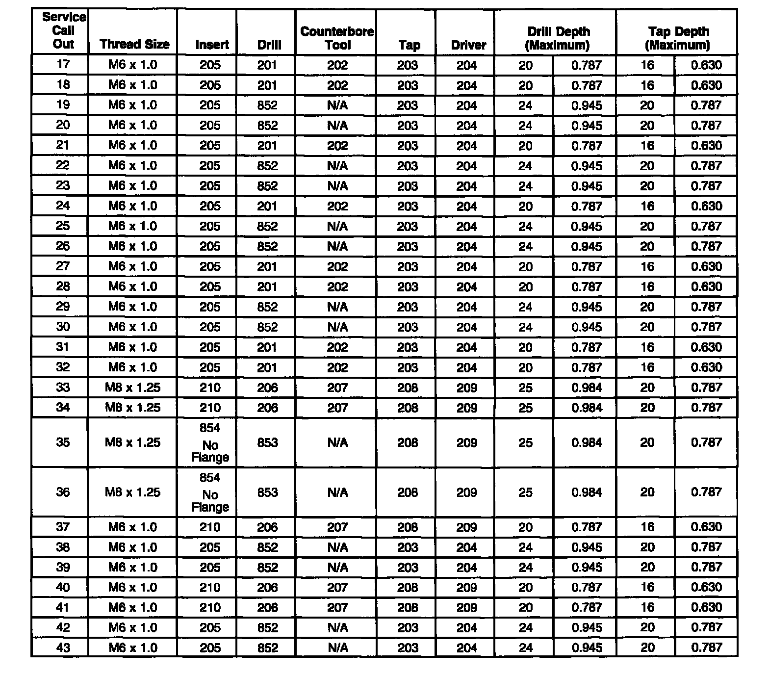
Thread Repair Specifications
Thread Repair SpecificationsEngine Block - Front View
Engine Block - Back View
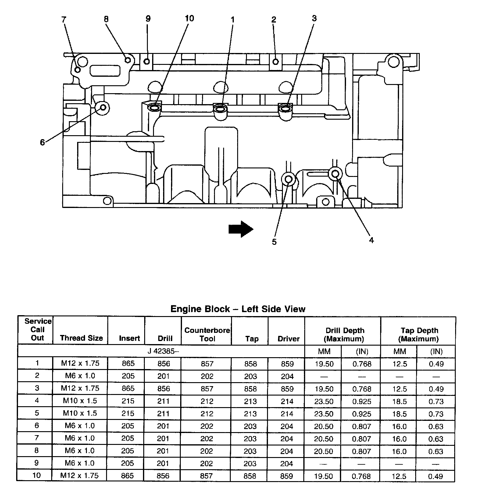
Engine Block - Left Side View
Engine Block - Bottom View
Engine Block - Right Side View
Engine Block - Top View
Lower Crankcase - Front View
Lower Crankcase - Back View
Lower Crankcase - Bottom View
Lower Crankcase - Left View
Lower Crankcase - Right View
Cylinder Head - Top View
Cylinder Head - Intake Manifold Deck View
Cylinder Head - Exhaust Manifold Deck View
Cylinder Head - Front View
Cylinder Head - Back View
Note: 1, 2, 5, 6 holes are oil passages.
Cylinder Head - Bottom View