Curiosii for ever!: Car repair manuals for everyone.

Rear Integration Module Replacement

REAR INTEGRATION MODULE REPLACEMENT

REMOVAL PROCEDURE
1. Before replacing the rear integration module (RIM), record the personalization settings to transfer to the new module (if they are available).
2. Remove the rear seat cushion.
3. Remove the rear seat belt buckle anchor bolts.
4. Remove the rear seat back.
5. Move the rear seat back insulator aside.




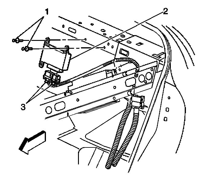
6. Remove the push pin retainers (1).
7. Disconnect the RIM electrical connectors (3).
8. Remove the RIM (2).

INSTALLATION PROCEDURE
1. Install the rear integration module (RIM).




2. Connect the RIM electrical connectors (3).
3. Install the RIM (2) with the push pin retainers (1).
4. Reposition the rear seat back insulator.
5. Install the rear seat back.
6. Install the rear seat belt buckle anchor bolts.
7. Install the rear seat cushion.
8. Reprogram the RIM. Refer to Body Control Module (BCM) Programming/RPO Configuration (IPM). Programming and Relearning