Curiosii for ever!
: Car repair manuals for everyone.
Home
>>
Oldsmobile
>>
2003
>>
Aurora V8-4.0L VIN C
>>
Repair and Diagnosis
>>
Diagrams
>>
Exploded Views
>>
Engine
>>
Engine Block Assembly
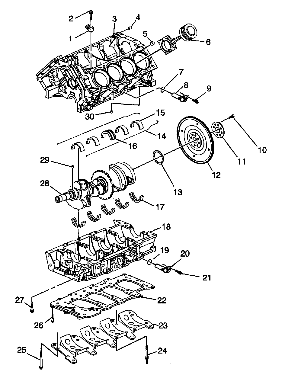
Engine Block Assembly
Engine Block Assembly
Disassembled View
Legend