Curiosii for ever!: Car repair manuals for everyone.

Theft Deterrent Control Module Replacement

THEFT DETERRENT CONTROL MODULE REPLACEMENT

REMOVAL PROCEDURE
1. Remove the Instrument Panel Trim Plate Bezel.




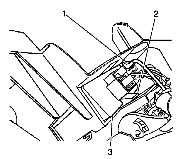
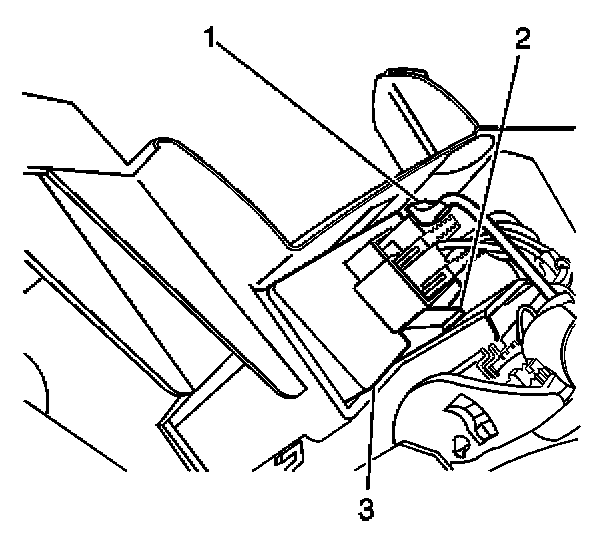
2. Disconnect the theft deterrent module electrical connector (1).
3. Release the retainer clip (2) securing the theft deterrent module (3).




4. Slide the theft deterrent module upward out of the Instrument panel retainer.

INSTALLATION PROCEDURE




1. Position the theft deterrent module to the opening in the IP retainer.




2. Push the theft deterrent module (3) downward until the retainer clip (2) engages, securing the module to the IP retainer.
3. Connect the theft deterrent module electrical connector (1).
4. Install the Instrument Panel Trim Plate Bezel.
5. Perform the Programing Theft Deterrent System Components procedure. Refer to Programming Theft Deterrent System Components. Programming and Relearning