Curiosii for ever!
: Car repair manuals for everyone.
Home
>>
Oldsmobile
>>
2003
>>
Alero L4-2.2L VIN F
>>
Repair and Diagnosis
>>
Diagrams
>>
Electrical Diagrams
>>
Transmission Control Systems
Transmission Control Systems
Transmission Solenoids, VSS, And TCC Brake Switch Signal:
Transmission Switches, TFT, And A/T ISS Sensor:
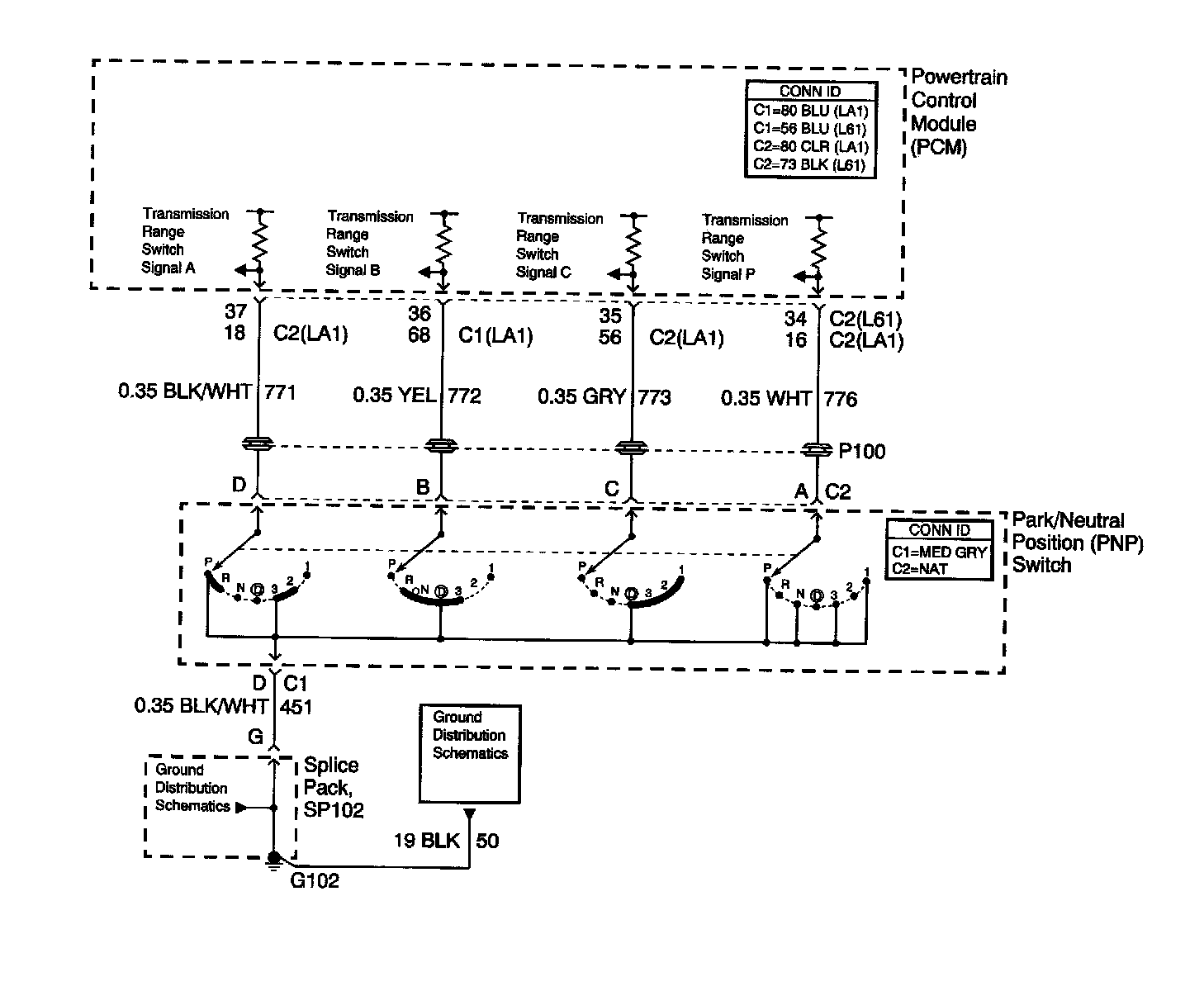
Automatic Transmission Control Schematics (PNP Switch):