Curiosii for ever!: Car repair manuals for everyone.

Engine

Disassembled Views





Part 1 of 2





Part 2 of 2

Engine Covers and Components Assemblies (1 of 2)






Part 1 of 2





Part 2 of 2

Engine Covers and Components Assemblies (2 of 2)






Camshaft Covers Assemblies






Camshaft Timing Components






Intake Manifold and Fuel Components






Part 1 of 2





Part 2 of 2

Cylinder Head Assemblies






Water Crossover






Oil Pump Assembly






Part 1 of 2





Part 2 of 2

Engine Block Assembly






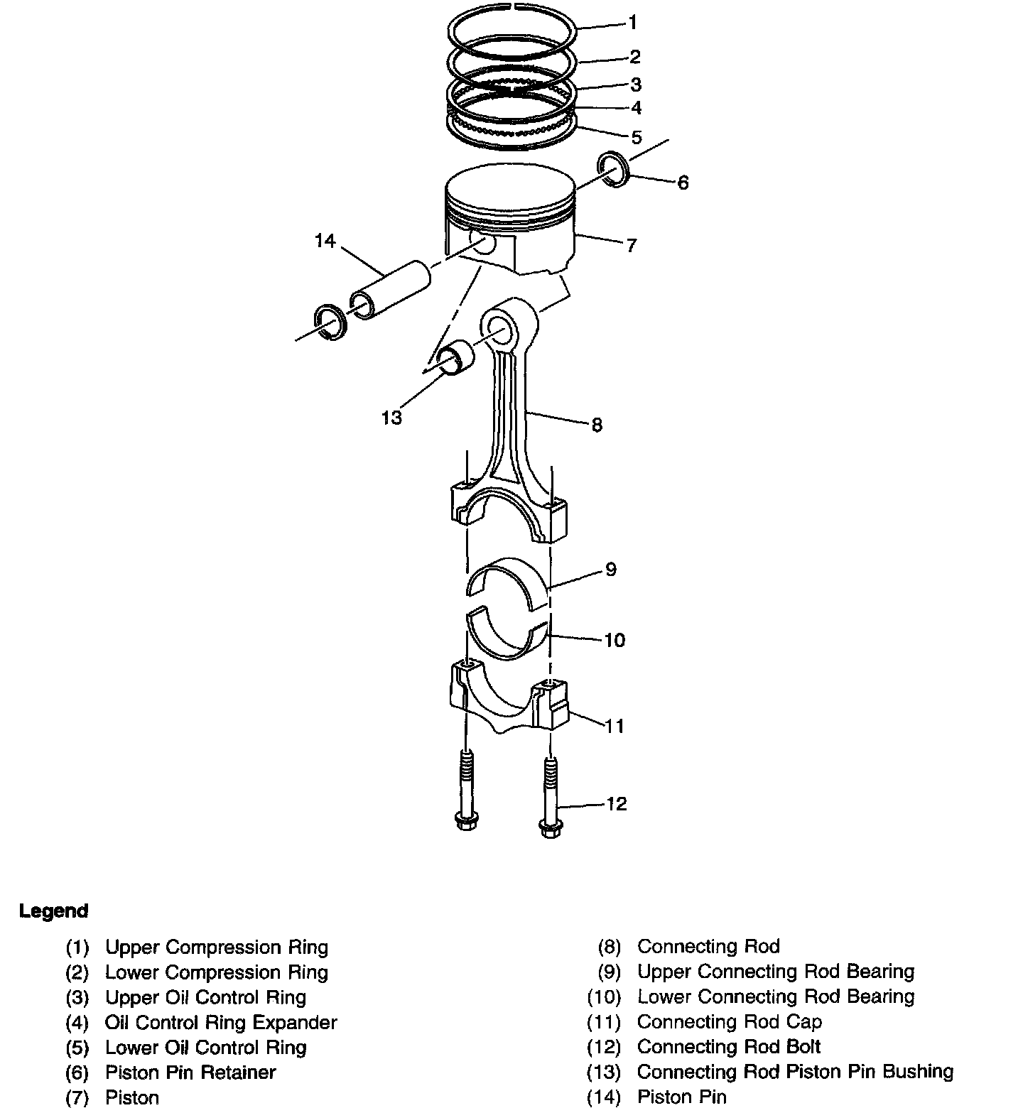
Piston, Rings, Bearing and Connecting Rod