Curiosii for ever!: Car repair manuals for everyone.

Electronic Brake Control Module: Service and Repair

Electronic Brake Control Module (EBCM) Replacement

Removal Procedure

Notice: To prevent equipment damage, never connect or disconnect the wiring harness connection from the EBCM with the ignition switch in the ON position.





1. Turn the ignition switch to the OFF position.
2. Remove the fuel injector sight shield.
3. Remove the front fender upper diagonal brace.
4. Disconnect the accelerator and cruise control cable from the accelerator control cable bracket.
5. Disconnect the cruise control module from the left strut tower. It is not necessary to remove the cable from the module. Position the module and cables aside.
6. Remove the air cleaner intake duct.
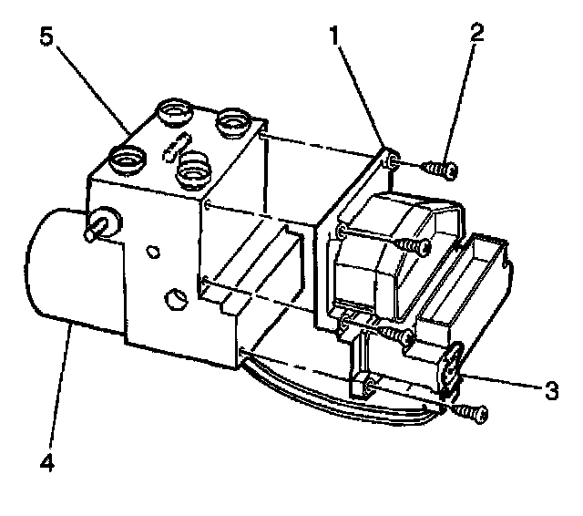
7. Disengage the locking tab (1) from the EBCM harness connector.
8. Disconnect the EBCM harness connector.
9. Remove any dirt/debris from the assembly.
10. Remove the 6 EBCM to BPMV retainers (2).





Important: Do not pry apart using a tool. Be careful not to damage BPMV surface.

Important: Care must be taken not to damage the solenoid valves when the EBCM is removed from the BPMV.

11. Separate the EBCM (1) from the BPMV (4) by gently pulling apart until separated.
12. Disconnect the pump motor connector (3) at the bottom of the EBCM.

Installation Procedure





1. Connect the pump motor connector (3) to the bottom of the EBCM.
2. Install the EBCM (1) to the BPMV (4).

Notice: Refer to Fastener Notice in Service Precautions.

3. Install the 6 EBCM to BPMV retainers (2).
^ Tighten the retainers to 2.9 Nm (26 inch lbs.).





4. Connect the EBCM harness connector.
5. Reengage the locking tab (1) to the EBCM harness connector.
6. Install the air cleaner intake duct.
7. Reposition the module and cables. Connect the cruise control module to the left strut tower.
8. Connect the accelerator and cruise control cable to the accelerator control cable bracket.
9. Install the front fender upper diagonal brace.
10. Install the fuel injector sight shield.
11. Perform the Diagnostic System Check - ABS.