Curiosii for ever!: Car repair manuals for everyone.

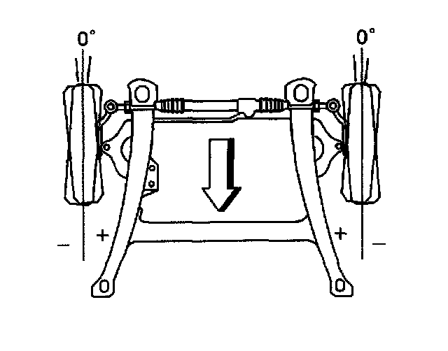
Front Wheel Toe Adjustment

Front Toe Adjustment
1. Loosen the lock nuts on the tie rod.

Notice: Refer to Fastener Notice in Service Precautions.

Notice: Care must be taken that the boots are not twisted when rotating the inner tie rods, or damage to the boots may result.





2. Rotate the inner tie rod to adjust the toe.
Tighten the lock nuts to 64 Nm (47 ft. lbs.).
3. Adjust the boots as needed in order to prevent damage.