Curiosii for ever!: Car repair manuals for everyone.

Main Cap Bolt Hole Thread Repair

Main Cap Bolt Hole Thread Repair





1. The main cap bolt hole thread repair kit consists of the following items:
^ Drill (1)
^ Tap (2)
^ Installer (3)
^ Fixture Plate (4)
^ Long Bolts (5)
^ Short Bolts (6)
^ Alignment Pin (7)
^ Bushing (8)





2. Remove the alignment doll pins on the holes (1-4), if necessary.





3. Install the fixture plate, bolt, and bushing, onto the engine block.
Position the fixture plate and bushing over the hole that is to be repaired.
4. Position the alignment pin in the desired hole and tighten the fixture retaining bolts.
5. Drill out the damaged hole.
6. Using compressed air, clean out any chips.





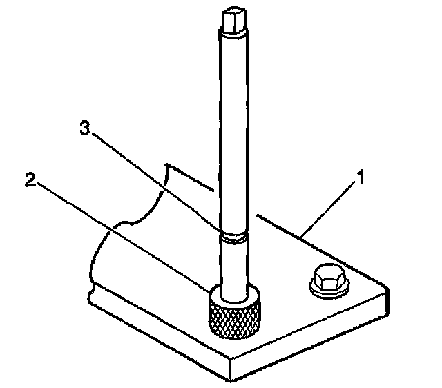
7. Using a tap wrench, tap the threads of the drilled hole.
In order to tap the new threads to the proper depth, rotate the tap into the hole until the mark (3) on the tap aligns with the top of the bushing (2).
8. Using compressed air, clean out any chips.
9. Spray cleaner GM P/N United States 12346139, GM P/N Canada 10953463, or equivalent, into the hole.
10. Using compressed air, clean any cutting oil and chips out of the hole.

Important: Do not allow oil or other foreign material to contact the Outside Diameter (OD) of the insert.





11. Lubricate the threads of the installer tool (2) with the driver oil (1).





12. Install the insert (2) onto the driver tool (1).





13. Apply threadlock Loctite 277, J 42385-109 (1), or equivalent to the insert OD threads (2).

Important: The fixture plate and bushing remains installed onto the engine block during the insert installation procedure.





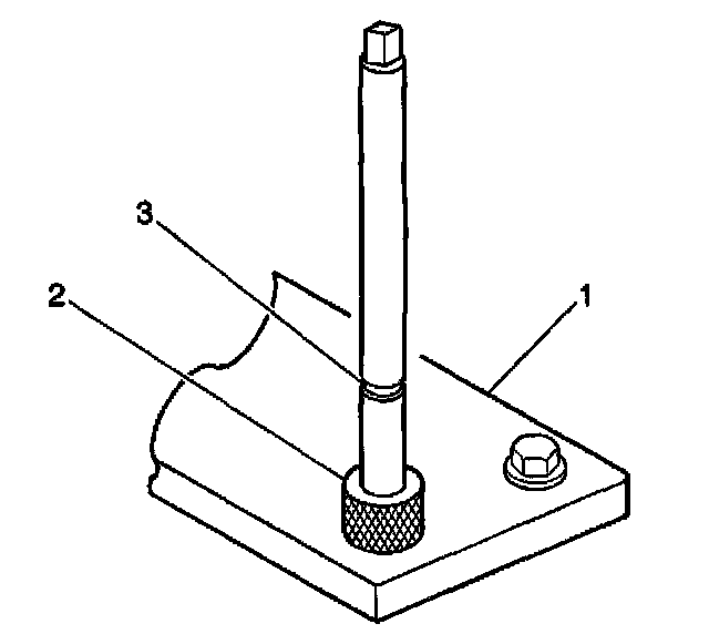
14. Install the insert and driver through the bushing (2), fixture plate (1) and into the hole.
Rotate the driver tool until the mark on the tool (3) aligns with the top of the bushing (2).
The installer tool will tighten up before screwing completely through the insert. This is acceptable. You are forming the bottom threads of the insert and mechanically locking the insert to the base material threads.
15. Remove the driver, bushing (2), fixture plate (1), and bolts.





16. Install the alignment doll pins in holes (1-4), if necessary.