Curiosii for ever!: Car repair manuals for everyone.

Engine

Disassembled Views (Intrigue)

Engine Covers and Components Assemblies (1 of 2)





Part 1 of 2





Part 2 of 2


Engine Covers and Components Assemblies (2 of 2)





Part 1 of 2





Part 2 of 2


Camshaft Cover Assemblies






Camshaft Timing Components






Intake Manifold and Fuel Components






Cylinder Head Assemblies






Water Crossover






Oil Pump Assembly






Engine Block Assembly





Part 1 of 2






Part 2 of 2


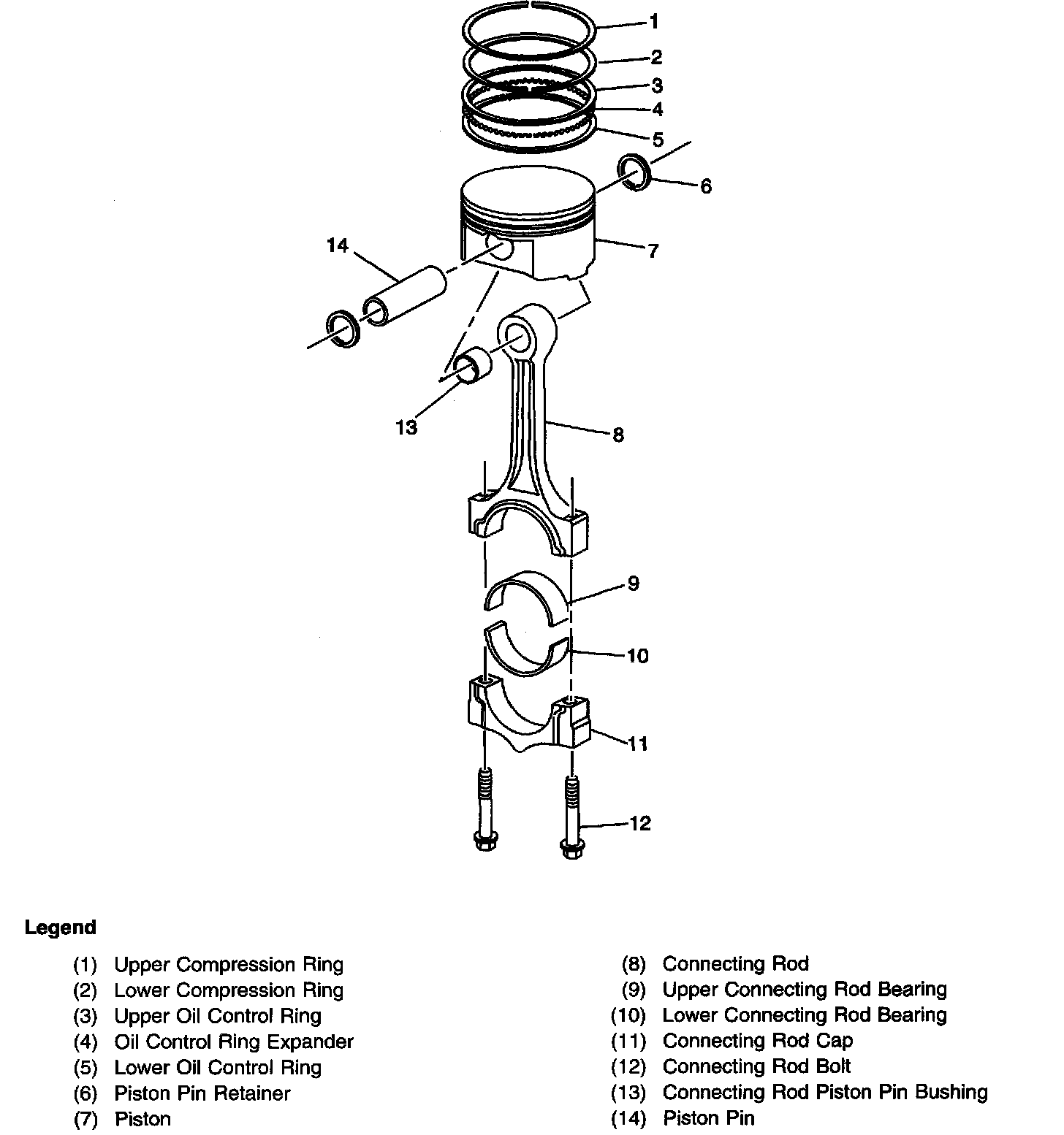
Piston, Rings, Bearing and Connecting Rod