Curiosii for ever!: Car repair manuals for everyone.

Cruise Control Cable Replacement

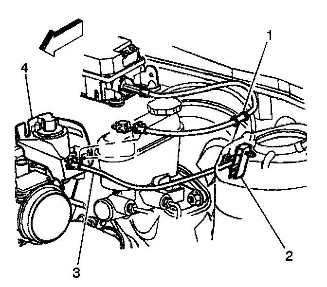
REMOVAL PROCEDURE



IMPORTANT: Note the cable routing for replacement.

1. Remove the fuel injector sight shield.
2. Disconnect the cruise control cable from the following components:
^ The TBI cam (1)
^ The throttle body bracket (2)
3. Disconnect the cruise control cable from the cruise control module.




4. Disconnect the cable from the retainers (2).

INSTALLATION PROCEDURE



1. Connect the cruise control cable to the cruise control module.
2. Install the cruise control cable slug TBI cam (1). Ensure that the cable is under the hook.
3. Snap the cable to the throttle body bracket (2).




4. Connect the cable to the retainers (2).
5. Adjust the cruise control cable. Refer to Cruise Control Cable Adjustment. Cruise Control Cable Adjustment
6. Install the fuel injector sight shield.