Curiosii for ever!: Car repair manuals for everyone.

Vehicle Lifting: Service and Repair

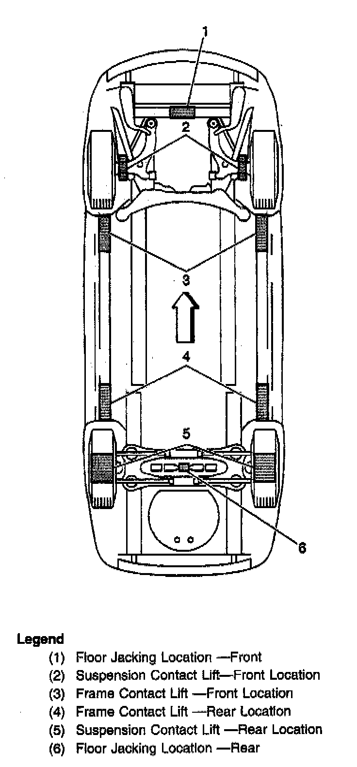
LIFTING AND JACKING THE VEHICLE





Caution: To avoid any vehicle damage, serious personal injury, or death when components are removed from the vehicle and the vehicle is supported by a hoist, perform the following steps:
^ Chain the vehicle to the hoist at the same end as the components that are being removed.
^ Support the vehicle at the opposite end from which the components are being removed.

Caution: To avoid any vehicle damage, serious personal injury, or death, always use the jackstands to support the vehicle when lifting the vehicle with a jack.

Notice: Perform the following steps before beginning any vehicle lifting or jacking procedure:
1. Remove or secure all of the vehicle's contents in order to avoid any shifting or any movement that may occur during the vehicle lifting or jacking procedure.
2. The lifting equipment or the jacking equipment weight rating must meet or exceed the weight of the vehicle and any vehicle contents.
3. The lifting equipment or the jacking equipment must meet the operational standards of the lifting equipment or jacking equipment's manufacturer.
4. Perform the vehicle lifting or jacking procedure on a clean, hard, dry, level surface.
5. Perform the vehicle lifting or jacking procedure only at the identified lift points. DO NOT allow the lifting equipment or jacking equipment to contact any other vehicle components.

Failure to perform the previous steps could result in damage to the lifting equipment or the jacking equipment, the vehicle, and/or the vehicle's contents.