Curiosii for ever!: Car repair manuals for everyone.

Inside Air Temperature Sensor Replacement




REMOVAL PROCEDURE
1. Disconnect the negative battery cable.
2. Remove the left instrument panel insulator.
3. Remove the knee bolster.
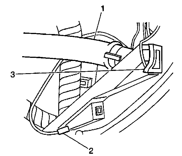
4. Disconnect the aspirator duct (1) and position aside.
5. Disconnect the electrical connector (2) to the inside air temperature sensor.
6. Remove the inside air temperature sensor (3).

INSTALLATION PROCEDURE

IMPORTANT: Ensure the air temperature sensor is sealed to the Steering column tiller trim panel in order prevent sampling the air behind the dash.

1. Install the inside air temperature sensor (3).
2. Connect the electrical connector (2) for the inside air temperature sensor.
3. Connect the aspirator duct (1) to the inside air temperature sensor.
4. Install the knee bolster.
5. Install the left instrument panel insulator.
6. Connect the negative battery cable.