Curiosii for ever!
: Car repair manuals for everyone.
Home
>>
Oldsmobile
>>
1999
>>
Aurora V8-4.0L VIN C
>>
Repair and Diagnosis
>>
Specifications
>>
Mechanical Specifications
>>
Engine
>>
System Specifications
>>
Thread Repair Specifications
>>
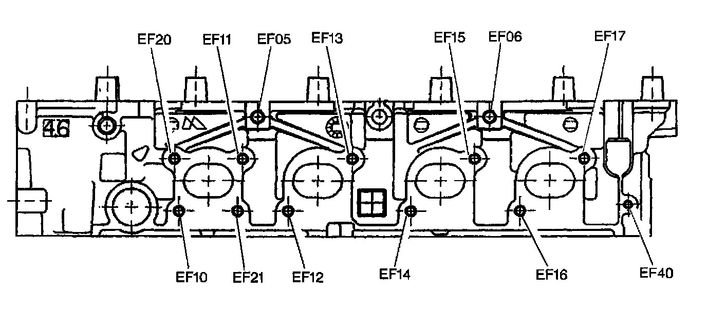
Exhaust Manifold Face of Cylinder Head
Exhaust Manifold Face of Cylinder Head
Part 1 Of 2:
Part 2 Of 2: