Curiosii for ever!: Car repair manuals for everyone.

Installation Procedure

Description:




Description:




Description:






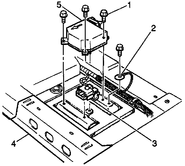
1. Install the SDM (5) to the floor sheetmetal (4).

Notice: Refer to Fastener Notice in Cautions and Notices.

2. Install the SDM mounting fasteners (1).

Tighten
Tighten fasteners to 9 N.m (80 lb in).

3. Install the SDM harness connector (2) to the SDM (1).
4. Install the Connector Position Assurance (CPA) (3) to the SDM harness connector (2).
5. Install the sill plate (right side).
6. Install the passenger front seat.
7. Enable the SIR system.