Curiosii for ever!: Car repair manuals for everyone.

Cruise Control Module: Service and Repair

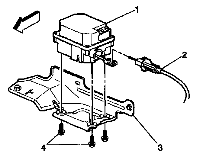
REMOVAL PROCEDURE




1. Remove the fuel injector sight shield if necessary.

IMPORTANT: The cruise control module assembly (2) is mounted left of center on the cowl in the engine compartment.

2. Disconnect the cruise control cable from the following locations:
^ The engine bracket
^ The TBI cam




3. Disconnect the cruise control cable (2) from the module assembly (1).
4. Disconnect the electrical connector from the module assembly (1).




5. Remove the 2 fasteners (1) from the mounting studs.
6. Remove the module assembly (2).




7. Remove the fasteners (4) retaining the module to the mounting bracket.

INSTALLATION PROCEDURE




1. Install the module to the mounting bracket.

NOTE: Refer to Fastener Notice in Cautions and Notices.

Install the module fasteners (4).

Tighten
Tighten the fasteners to 6.5 N.m (57 lb in).




2. Install the module assembly (2) onto the mounting studs.
3. Install the 2 fasteners (1) to the mounting studs.

Tighten
Tighten the nuts to 9 N.m (80 lb in).

4. Connect the electrical connector to the module assembly (2).




5. Connect the cruise control cable (2) to the following locations:
^ The module assembly
^ The engine bracket
^ The TBI cam
6. Adjust the cable. Refer to Cruise Control Cable Adjustment Adjustments.
7. Install the fuel injector sight shield it necessary.