Curiosii for ever!: Car repair manuals for everyone.

Chassis Lubrication

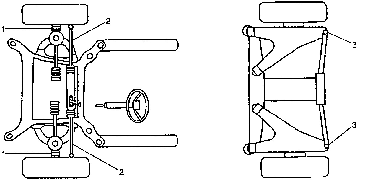
(Figure 1) Chassis Lubrication Points:






CHASSIS LUBRICATION
Lubricate transmission/transaxle shift linkage. Lubricate the parking brake guides, underbody contact points and linkage. Wipe off all dirt from the grease fitting before lubricating the joint. Ball joints should not be lubricated unless their temperature is -12° C (1O° F) or higher. During cold weather, the ball joint should be allowed to warm up as necessary before being lubricated. Use a low-pressure grease gun on all joints to prevent seal damage.

Apply grease slowly to the lower ball joints (1) the front tie rod ends (2) and the rear tie rod ends (3) while watching the grease seal (figure 1). Apply grease until grease is seen bleeding from the seal. It the seal expands but no grease is seen, do not apply any more grease and allow time for the grease to bleed from the seal.

CAUTION: Do not lubricate the parking brake cables. Lubrication destroys the plastic coating on the cable.