Curiosii for ever!
: Car repair manuals for everyone.
Home
>>
Oldsmobile
>>
1998
>>
Aurora V8-4.0L VIN C
>>
Repair and Diagnosis
>>
Locations
>>
Component Locations
>>
Modules
>>
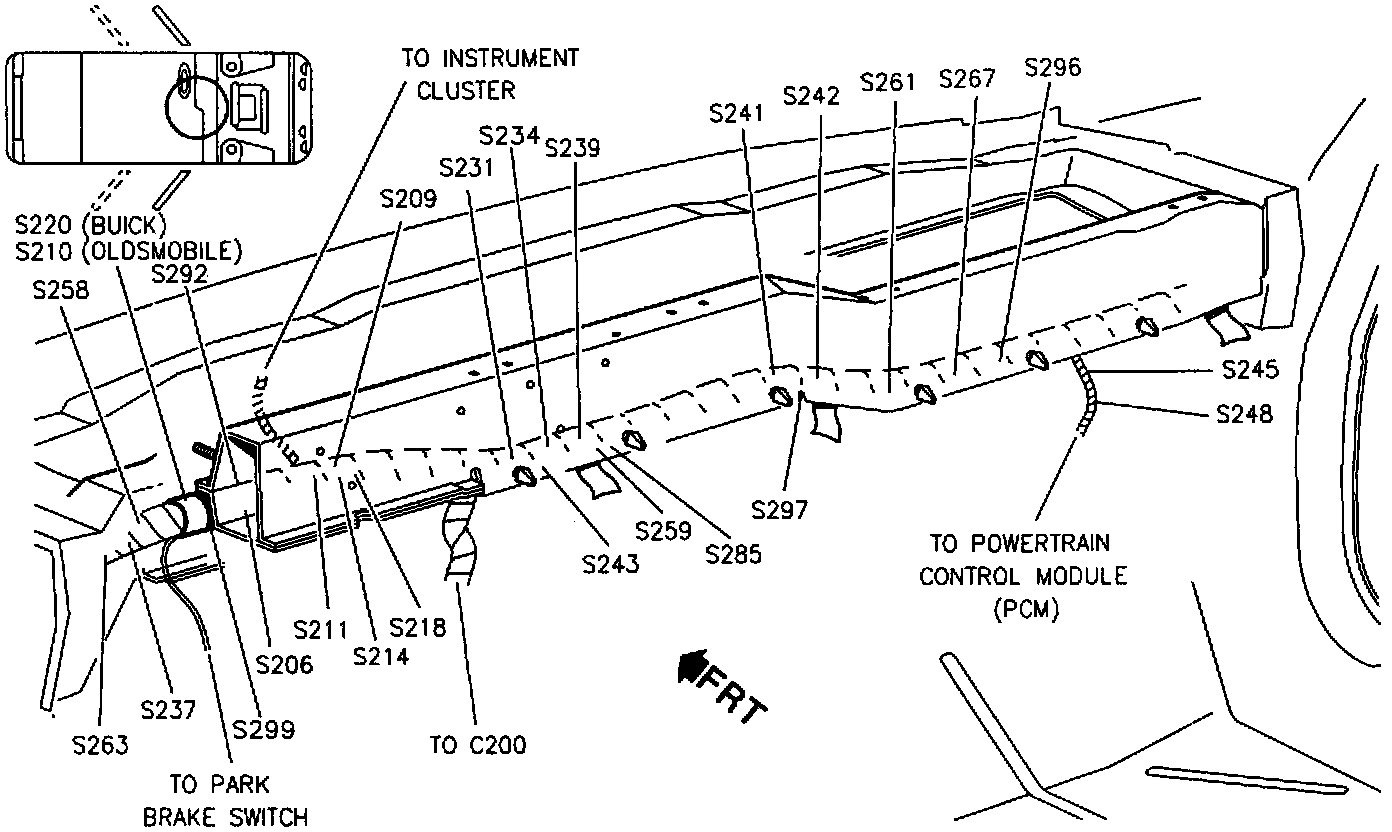
Powertrain Control Module (PCM)
Powertrain Control Module (PCM)
Under The Right Hand Of The Instrument Panel:
Behind The Instrument Panel: