Curiosii for ever!
: Car repair manuals for everyone.
Home
>>
Oldsmobile
>>
1997
>>
Achieva V6-3100 3.1L MFI VIN M
>>
Repair and Diagnosis
>>
Relays and Modules
>>
Relays and Modules - Brakes and Traction Control
>>
Electronic Brake Control Module
>>
Locations
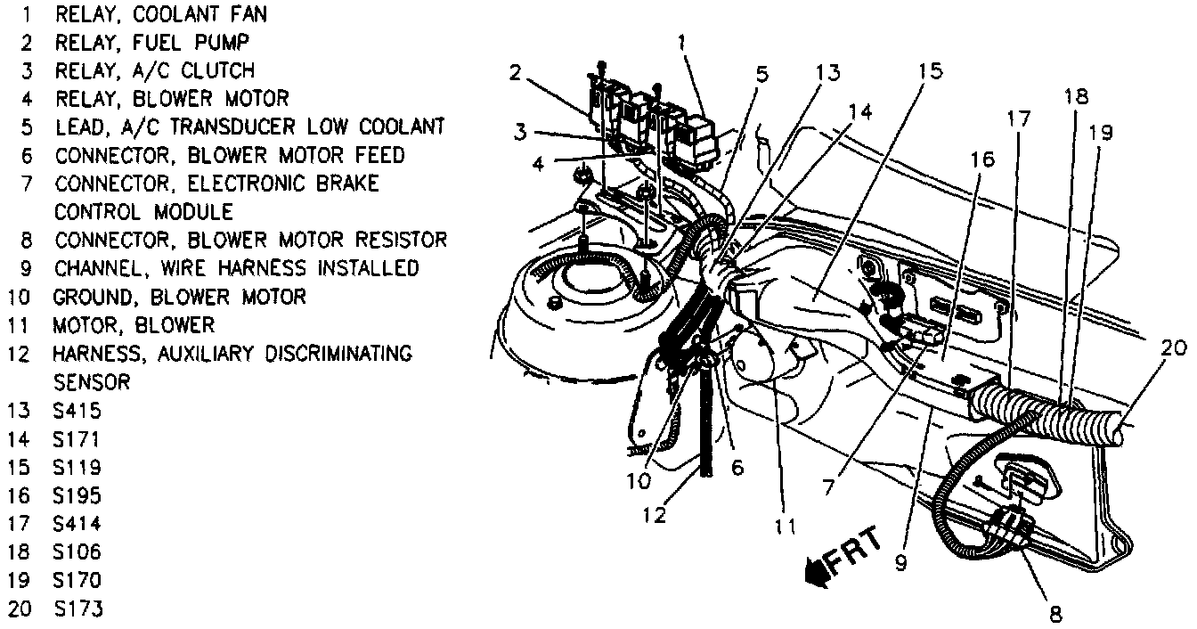
Electronic Brake Control Module: Locations
RH Rear Of Engine Compartment: