Curiosii for ever!
: Car repair manuals for everyone.
Home
>>
Oldsmobile
>>
1994
>>
Ninety-Eight V6-3800 3.8L Supercharged
>>
Repair and Diagnosis
>>
Locations
>>
Component Locations
>>
A - Z Component List
>>
Modules
>>
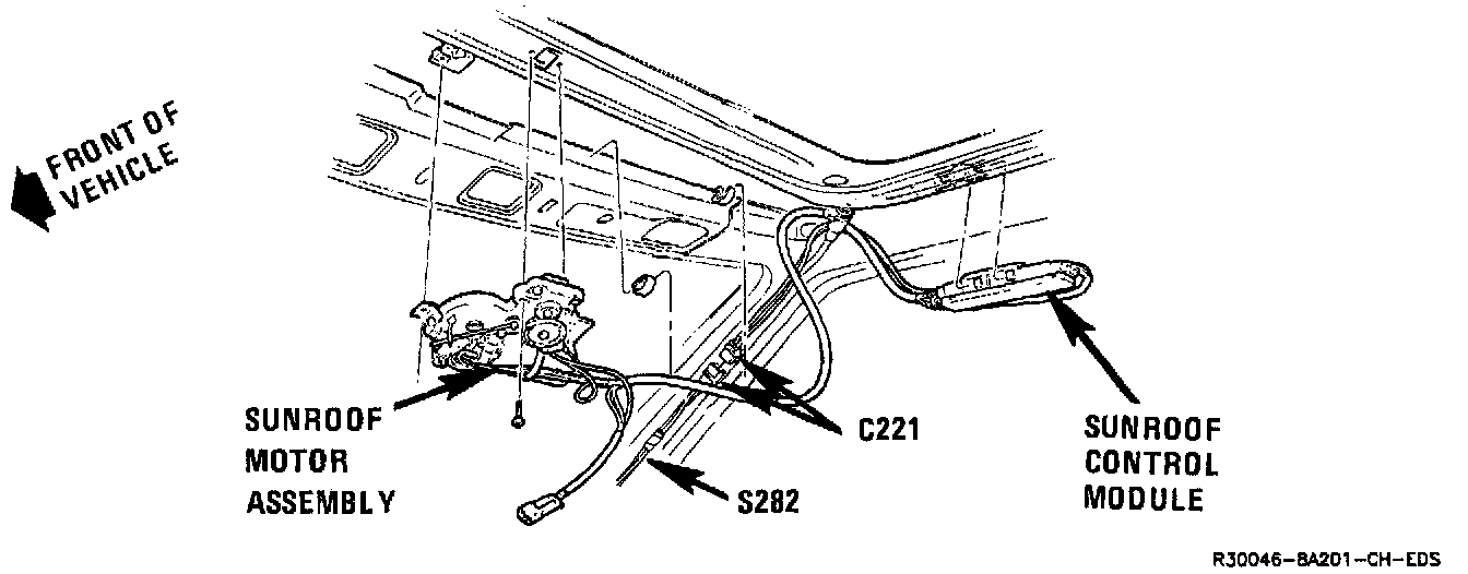
Sunroof Control Module
Sunroof Control Module
RH Side Of Windshield Header: