Curiosii for ever!
: Car repair manuals for everyone.
Home
>>
Oldsmobile
>>
1994
>>
Cutlass Supreme V6-204 3.4L DOHC
>>
Repair and Diagnosis
>>
Diagrams
>>
Components
>>
Modules
>>
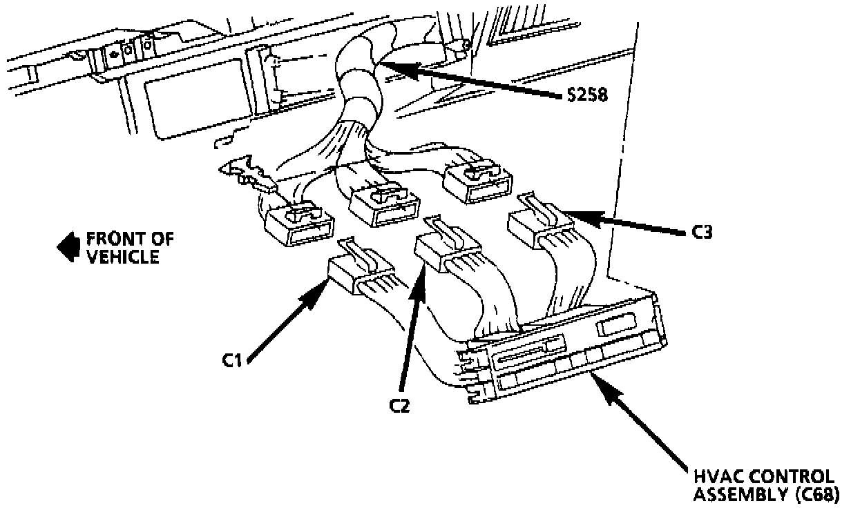
HVAC Control Assembly (C68)
HVAC Control Assembly (C68)
Center Of Instrument Panel (Heater And A/C Control Assembly With C68 Removed):