Curiosii for ever!: Car repair manuals for everyone.

- Powertrain/On-Board Diagnostic System Check

Diagnostic System Check:




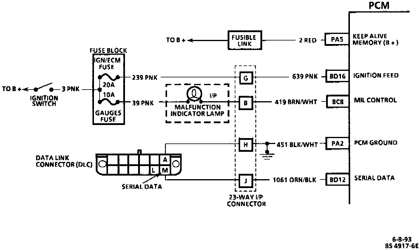
Diagnostic And Serial Data Circuit Schematic:






CIRCUIT DESCRIPTION
The On-Board Diagnostic (OBD) system check is an organized approach to identifying a problem created by an electronic engine control system malfunction. It must be the starting point for any driveability complaint diagnosis, because it directs the service technician to the next logical step in diagnosing the complaint. Understanding the chart and using it correctly will reduce diagnostic time and prevent the unnecessary replacement of good parts.


TEST DESCRIPTION: Number(s) below refer to circled number(s) on the diagnostic chart.
1. This step is a check for the proper operation of the Malfunction Indicator Lamp (MIL). The MIL should be "ON" steady.
2. No MIL at this point indicates that there is a problem with the MIL circuit or the Powertrain Control Module (PCM) control of that circuit.
3. Most of the procedures use a Tech 1 scan tool to aid diagnosis, therefore, serial data must be available.
4. Although the PCM is powered up, a "Cranks But Will Not Run" symptom could exist because of a PCM or system problem.
5. This test checks the ability of the PCM to control the MIL. The Tech 1 has the ability to command the MIL "ON" and "OFF" with the engine running only.
6. This step will isolate if the customer complaint is a MIL or a driveability problem with no MIL. An invalid DTC may be the result of a faulty scan tool.
7. Comparison of actual control system data with the typical values is a quick check to determine if any parameter is not within limits. Keep in mind that a base engine problem (i.e., advanced cam timing) may substantially alter sensor values. Scan Tool Data List
8. Installation of a Tech 1 scan tool will provide a good ground path for the PCM and may hide a driveability complaint due to poor PCM grounds.
9. If the actual data is not within the typical values established, the diagnostic charts under "DIAGNOSTIC CHARTS/C-CHARTS" will provide a functional check of the suspect component or system. Testing and Inspection