Engine Controls - Updated Code 26 Chart
87olds7SUBJECT SERVICE MANUAL REVISION CODE 26,
QUAD-DRIVER ERROR, SECTION 6E3
MODELS/YEARS 1988 DELTA 88 AND NINETY-EIGHT MODELS EQUIPPED WITH 3800 (VIN CODE C) ENGINE
NUMBER: 88-T-08
DATE: Nov. 13, 1987
SECTION: 6E
This revised diagnosis replaces the Code 26 charts currently in the 1988 Delta 88 and Ninety-Eight New Product Service Manual, pages 6E3-A-52 through 6E3-A-57.
CODE 26
(Page 1 of 3)
QUAD DRIVER (QDM) ERROR 3800 (VIN C) (PORT)
Circuit Description:
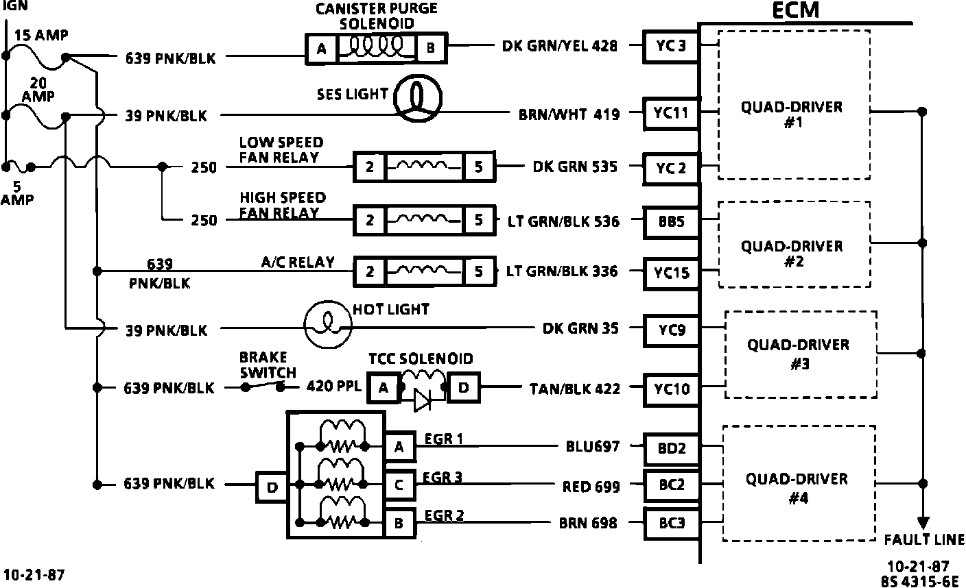
The ECM is used to control several components such as those illustrated above. The ECM controls these devices through the use of a quad-driver module (QDM). When the ECM is commanding a component "ON", the voltage potential of the output circuit will be "low" (near 0 V). When the ECM is commanding the output circuit to a component "OFF", the voltage potential of the circuit will be "high" (Near battery voltage). The primary function of the QDM is to supply the ground for the component being controlled. Each QDM has a fault line which is monitored by the ECM. The fault line signal is available on the data stream for "Scan" tool test equipment. The ECM will compare the voltage at the QDM based on accepted values of the fault line. If the QDM fault detection circuit senses a voltage other than the accepted value, the fault line will go from a "low" signal on the data stream to a "high" signal and a Code 2 6 will set if applicable. Some QDM circuits will switch from "low" to "high" normally. Examples: QDM 2 - If A/C pressure switch closes and turns "ON" high speed coolant fan or QDM 3 - If the brake is depressed. These conditions are normal and no code 26 is set. These are accepted conditions. A fault on QDM #2 will not set a Code 26, but diagnosis may be done by making sure the A/C is turned "OFF".
CODE 26(Page 1 of 3)QUAD DRIVER (QDM) ERROR 3800 (VIN C) (PORT):
Test Description: Numbers below refer to circled numbers on the diagnostic chart.
1. The ECM does not know which controlled circuit caused the Code 26 so this chart will go through each of the circuits to determine which is at fault. This test checks the "Service Engine Soon" light driver and the "Service Engine Soon" light circuit.
2. QDM symptoms
- TCC - Inoperative - Code 39
- EGR - Inoperative - Codes 63, 64, 65
- Hot Light - "ON" all the time/"OFF" during bulb check
- Coolant fan on low speed all the time or won't come "ON" at all
- Poor driveability due to 100% canister purge
CODE 26
(Page 2 of 3)
QUAD DRIVER (QDM) ERROR 3800 (VIN C) (PORT)
Circuit Description:
The ECM is used to control several components such as those illustrated above. The ECM controls these devices through the use of a quad-driver module (QDM). When the ECM is commanding a component "ON", the voltage potential of the output circuit will be "low" (near 0 V). When the ECM is commanding the output circuit to a component "OFF", the voltage potential of the circuit will be "high" (Near battery voltage). The primary function of the QDM is to supply the ground for the component being controlled. Each QDM has a fault line which is monitored by the ECM. The fault line signal is available on the data stream for "Scan" tool test equipment. The ECM will compare the voltage at the QDM based on accepted values of the fault line. If the QDM fault detection circuit senses a voltage other than the accepted value, the fault line will go from a "low" signal on the data stream to a "high" signal and a Code 26 will set if applicable. Some QDM circuits will switch from "low" to "high" normally, Examples: QDM 2 - If A/C pressure switch closes and turns "ON" high speed coolant fan or QDM 3 - If the brake is depressed. These conditions are normal and no code 26 is set. These are accepted conditions. A fault on QDM #2 will not set a Code 26, but diagnosis may be done by making sure the A/C is turned "OFF".
CODE 26(Page 2 of 3)QUAD DRIVER (QDM) ERROR 3800 (VIN C) (PORT):
Test Description: Numbers below refer to circled numbers on the diagnostic chart.
3. This test will determine which circuit is out of specifications. All circuits EXCEPT "YC11", the SES light, and "YC9", the "hot light", should be B + when key is "ON", engine not running. The diagnostic test terminal is not grounded.
DIAGNOSTIC AIDS:
Monitor the voltage at each terminal while moving related harness connectors, including ECM harness. If the failure is induced, the voltage will change. This may help locate the intermittent. Check for bent pins at ECM and ECM connector terminals. If code re-occurs with no apparent connector problem, replace ECM.
CODE 26
(Page 3 of 3)
QUAD DRIVER (QDM) ERROR 3800 (VIN C) (PORT)
Circuit Description:
The ECM is used to control several components such as those illustrated above. The ECM controls these devices through the use of a quad-driver module (QDM). When the ECM is commanding a component "ON", the voltage potential of the output circuit will be "low" (near 0 V). When the ECM is commanding the output circuit to a component "OFF", the voltage potential of the circuit will be "high" (Near battery voltage). The primary function of the QDM is to supply the ground for the component being controlled. Each QDM has a fault line which is monitored by the ECM. The fault line signal is available on the data stream for "Scan" tool test equipment. The ECM will compare the voltage at the QDM based on accepted values of the fault line. If the QDM fault detection circuit senses a voltage other than the accepted value, the fault line will go from a "low" signal on the data stream to a "high" signal and a Code 26 will set if applicable. Some QDM circuits will switch from "low" to "high" normally. Examples: QDM 2 - If A/C pressure switch closes and turns "ON" high speed coolant fan or QDM 3 - If the brake is depressed. These conditions are normal and no code 26 is set. These are accepted conditions. A fault on QDM #2 will not set a Code 26, diagnosis may be done by making sure the A/C is turned "OFF".
CODE 26(Page 3 of 3)QUAD DRIVER (QDM) ERROR 3800 (VIN C) (PORT):
Test Description: Numbers below refer to circled numbers on the diagnostic chart.
4. This test will determine if the problem is the circuit or the component. As the factory installed ECM is protected with an internal fuse, it is highly unlikely that the ECM needs to be replaced.