Curiosii for ever!
: Car repair manuals for everyone.
Home
>>
Oldsmobile
>>
1983
>>
Omega L4-151 2.5L
>>
Repair and Diagnosis
>>
Powertrain Management
>>
Diagrams
>>
Electrical Diagrams
>>
Fuel System
Fuel System
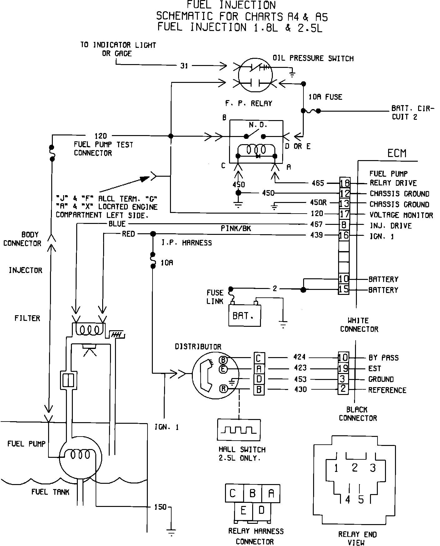
Fig. 8 Fuel System Wiring Diagram: 1982-83 112 (1.8L) & 151 (2.5L):