Curiosii for ever!
: Car repair manuals for everyone.
Home
>>
Oldsmobile
>>
1983
>>
Firenza L4-121 2.0L
>>
Repair and Diagnosis
>>
Powertrain Management
>>
Ignition System
>>
Ignition Timing
>>
Timing Marks and Indicators
>>
Locations
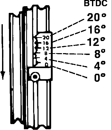
Timing Marks and Indicators: Locations
Timing Mark - 1.8L (112) 2V, 2.0L (122):