Curiosii for ever!: Car repair manuals for everyone.

EVAP System Components

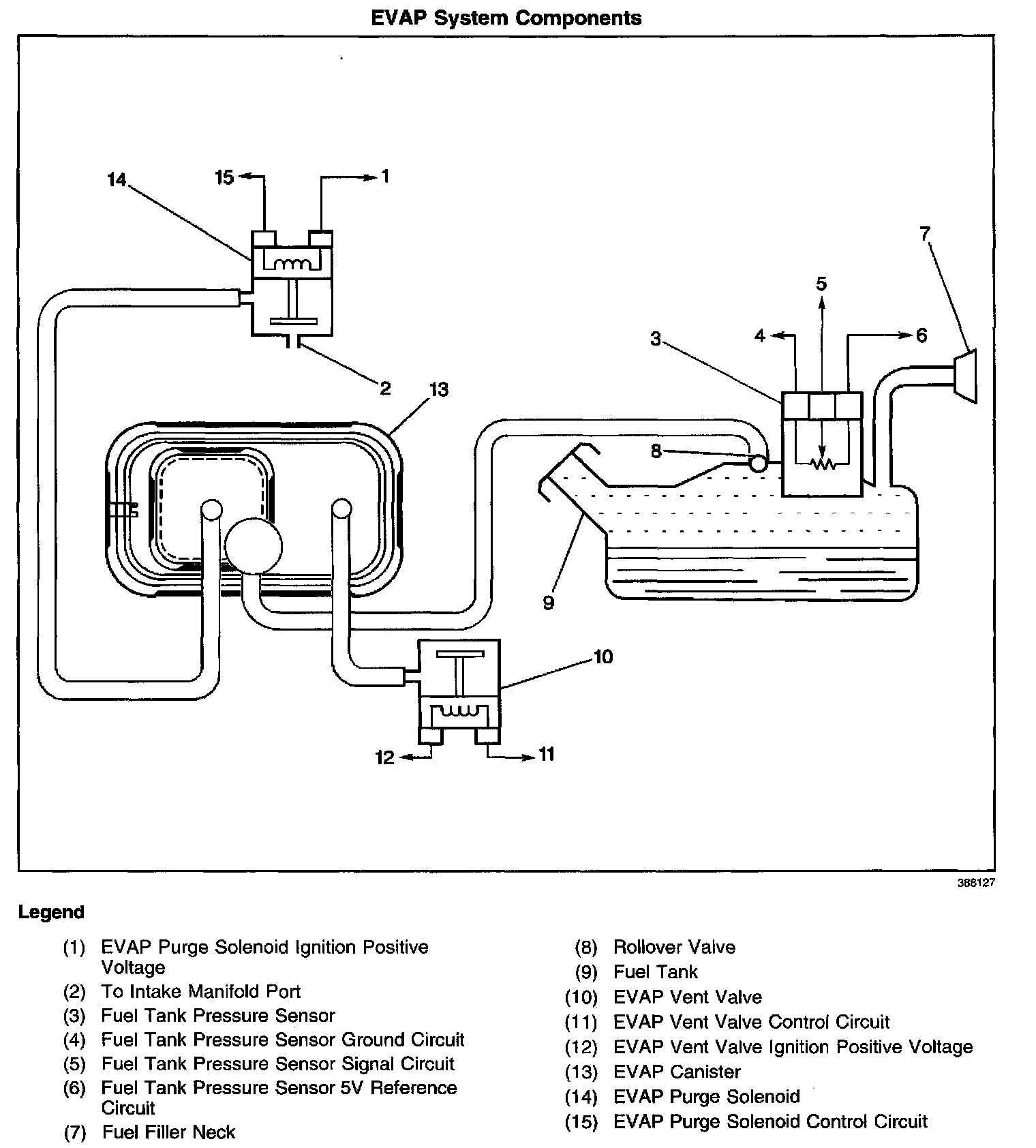
EVAP System Components:




The purpose of the Evaporative Emission (EVAP) control system is to prevent the fuel vapors from escaping into the atmosphere. The EVAP transfers the fuel vapor from the sealed fuel tank to an activated carbon, or charcoal, storage device, or EVAP canister. The EVAP canister stores the vapors until the engine is able to use the extra fuel vapor.

When the engine is able to use the extra fuel vapor, the intake air flow purges the fuel vapor from the carbon element, and then the normal combustion process consumes the fuel vapor.

The system is designed to detect the evaporative fuel system leaks as small as 0.040 of an inch between the fuel filler cap and the purge solenoid. The system can test the evaporative system integrity by applying a vacuum to the fuel tank in order to create a small vacuum. The Powertrain Control Module (PCM) then uses the Fuel Tank Pressure (FTP) sensor to determine system integrity.