Curiosii for ever!: Car repair manuals for everyone.

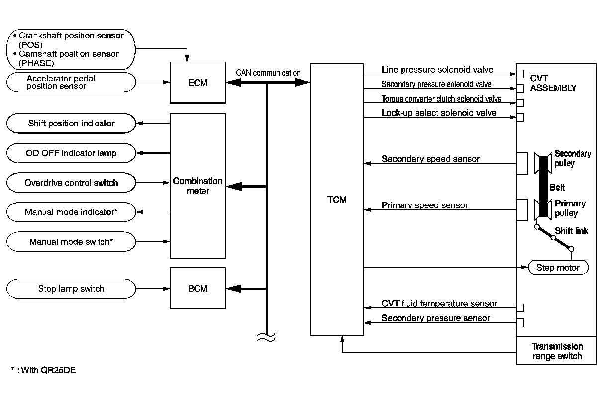
CVT TCM Function




CVT SYSTEM

TCM Function

The function of the TCM is to:
- Receive input signals sent from various switches and sensors.
- Determine required line pressure, shifting point, and lock-up operation.
- Send required output signals to the step motor and the respective solenoids.

CONTROL SYSTEM OUTLINE

The CVT senses vehicle operating conditions through various sensors. It always controls the optimum shift position and reduces shifting and lock-up shocks.






CONTROL SYSTEM DIAGRAM