Specification Value
TROUBLE DIAGNOSIS - SPECIFICATION VALUE
Description
The specification (SP) value indicates the tolerance of the value that is displayed in "SPEC" of "DATA MONITOR" mode with CONSULT during normal operation of the Engine Control System. When the value in "SPEC"
of "DATA MONITOR" mode is within the SP value, the Engine Control System is confirmed OK. When the value in "SPEC" of "DATA MONITOR" mode is NOT within the SP value, the Engine Control System may have one or more malfunctions.
The SP value is used to detect malfunctions that may affect the Engine Control System, but will not light the
MIL.
The SP value will be displayed for the following three items:
- B/FUEL SCHDL (The fuel injection pulse width programmed into ECM prior to any learned on board correction)
- A/F ALPHA-B1 /B2 (The mean value of air-fuel ratio feedback correction factor per cycle)
- MAS A/F SE-B1 (The signal voltage of the mass air flow sensor)
Testing Condition
- Vehicle driven distance: More than 5,000 km (3,107 miles)
- Barometric pressure: 98.3 - 104.3 kPa (1.003 - 1.064 kg/cm2, 14.25 - 15.12 psi)
- Atmospheric temperature: 20 - 30�C (68 - 86�F)
- Engine coolant temperature: 75 - 95�C (167 - 203�F)
- Transmission: Warmed-up
- CVT models: After the engine is warmed up to normal operating temperature, drive vehicle until "FLUID
TEMP SE" fluid temperature sensor signal) indicates more than 60�C (140�F).
- M/T models: After the engine is warmed up to normal operating temperature, drive vehicle for 5 minutes.
- Electrical load: Not applied
- Rear window defogger switch, air conditioner switch, lighting switch are OFF. Steering wheel is straight ahead.
- Engine speed: Idle
Inspection Procedure
NOTE:
Perform "SPEC" in "DATA MONITOR" mode in maximum scale display.
1.Perform Basic Inspection.
2.Confirm that the testing conditions indicated above are met.
3.Select "B/FUEL SCHDL", "A/F ALPHA-B1", "A/F ALPHA-B2 "and "MAS A/F SE-B1" in "SPEC" of "DATA
MONITOR" mode with CONSULT.
4.Check that monitor items are within the SP value.
5.If NG, go to .
Diagnosis Procedure
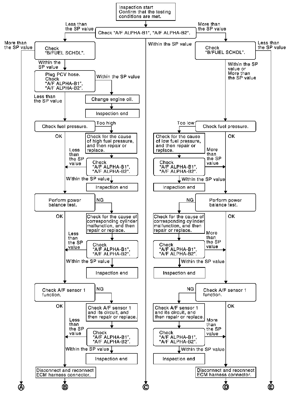
OVERALL SEQUENCE
DETAILED PROCEDURE
1. CHECK "A/F ALPHA-B1", "A/F ALPHA-B2"
1.Start engine.
2.Confirm that the testing conditions are met. .
3.Select "A/F ALPHA-B1", "A/F ALPHA-B2" in "SPEC" of "DATA MONITOR" mode, and check that the each indication is within the SP value.
NOTE:
Check "A/F ALPHA-B1", "A/F ALPHA-B2" for approximately 1 minute because they may fluctuate. It is NG
if the indication is out of the SP value even a little.
OK or NG
OK- GO TO 17.
NG (Less than the SP value)-GO TO 2.
NG (More than the SP value)-GO TO 3.
2. CHECK "B/FUEL SCHDL"
Select "B/FUEL SCHDL" in "SPEC" of "DATA MONITOR" mode, and check that the indication is within the SP
value.
OK or NG
OK- GO TO 4.
NG (More than the SP value)-GO TO 19.
3. CHECK "B/FUEL SCHDL"
Select "B/FUEL SCHDL" in "SPEC" of "DATA MONITOR" mode, and check that the indication is within the SP
value.
OK or NG
OK- GO TO 6.
NG (More than the SP value)-GO TO 6.
NG (Less than the SP value)-GO TO 25.
4. CHECK "A/F ALPHA-B1", "A/F ALPHA-B2"
1.Stop the engine.
2.Disconnect PCV hose, and then plug it.
3.Start engine.
4.Select "A/F ALPHA-B1", "A/F ALPHA-B2" in "SPEC" of "DATA MONITOR" mode, and check that the each indication is within the SP value.
OK or NG
OK- GO TO 5.
NG- GO TO 6.
5. CHANGE ENGINE OIL
1.Stop the engine.
2.Change engine oil.
NOTE:
This symptom may occur when a large amount of gasoline is mixed with engine oil because of driving conditions (such as when engine oil temperature does not rise enough since a journey distance is too short during winter). The symptom will not be detected after changing engine oil or changing driving condition.
-INSPECTION END
6. CHECK FUEL PRESSURE
Check fuel pressure. (Testing and Inspection.)
OK or NG
OK- GO TO 9.
NG (Fuel pressure is too high)-Replace fuel pressure regulator, Removal and Installation
and Precaution. GO TO 8.
NG (Fuel pressure is too low)-GO TO 7.
7. DETECT MALFUNCTIONING PART
1.Check the following.
-Clogged and bent fuel hose and fuel tube
-Clogged fuel filter
-Fuel pump and its circuit.
2.If NG, repair or replace the malfunctioning part. (Testing and Inspection.)
If OK, replace fuel pressure regulator. Removal and Installation and Precaution.
- GO TO 8.
8. CHECK "A/F ALPHA-B1", "A/F ALPHA-B2"
1.Start engine.
2.Select "A/F ALPHA-B1", "A/F ALPHA-B2" in "SPEC" of "DATA MONITOR" mode, and check that the each indication is within the SP value.
OK or NG
OK-INSPECTION END
NG- GO TO 9.
9. PERFORM POWER BALANCE TEST
1.Perform "POWER BALANCE" in "ACTIVE TEST" mode.
2.Check that the each cylinder produces a momentary engine speed drop.
OK or NG
OK- GO TO 12.
NG- GO TO 10.
10. DETECT MALFUNCTIONING PART
1.Check the following.
-Ignition coil and its circuit.
-Fuel injector and its circuit.
-Intake air leakage
-Low compression pressure (Testing and Inspection.)
2.If NG, repair or replace the malfunctioning part.
If OK, replace fuel injector. (It may be caused by leakage from fuel injector or clogging.) Service and Repair.
- GO TO 11.
11. CHECK "A/F ALPHA-B1", "A/F ALPHA-B2"
1.Start engine.
2.Select "A/F ALPHA-B1", "A/F ALPHA-B2" in "SPEC" of "DATA MONITOR" mode, and check that the each indication is within the SP value.
OK or NG
OK-INSPECTION END
NG- GO TO 12.
12. CHECK A/F SENSOR 1 FUNCTION
Perform all DTC Confirmation Procedure related with A/F sensor 1.
- For DTC P0130, P0150 P0130.
- For DTC P0131, P0151 P0131.
- For DTC P0132, P0152 P0132.
- For DTC P0133, P0153 P0133.
- For DTC P2A00, P2A03 P2A00.
OK or NG
OK- GO TO 15.
NG- GO TO 13.
13. CHECK A/F SENSOR 1 CIRCUIT
Perform Diagnostic Procedure according to corresponding DTC.
- GO TO 14.
14. CHECK "A/F ALPHA-B1", "A/F ALPHA-B2"
1.Start engine.
2.Select "A/F ALPHA-B1", "A/F ALPHA-B2" in "SPEC" of "DATA MONITOR" mode, and check that the each indication is within the SP value.
OK or NG
OK-INSPECTION END
NG- GO TO 15.
15. DISCONNECT AND RECONNECT ECM HARNESS CONNECTOR
1.Stop the engine.
2.Disconnect ECM harness connector. Check pin terminal and connector for damage, and then reconnect it.
- GO TO 16.
16. CHECK "A/F ALPHA-B1", "A/F ALPHA-B2"
1.Start engine.
2.Select "A/F ALPHA-B1", "A/F ALPHA-B2" in "SPEC" of "DATA MONITOR" mode, and check that the each indication is within the SP value.
OK or NG
OK-INSPECTION END
NG- Detect malfunctioning part according to Symptom Related Diagnostic Procedures.
17. CHECK "B/FUEL SCHDL"
Select "B/FUEL SCHDL" in "SPEC" of "DATA MONITOR" mode, and check that the indication is within the SP
value.
OK or NG
OK-INSPECTION END
NG (More than the SP value)-GO TO 18.
NG (Less than the SP value)-GO TO 25.
18. DETECT MALFUNCTIONING PART
1.Check for the cause of large engine friction. Refer to the following.
-Engine oil level is too high
-Engine oil viscosity
-Belt tension of alternator, A/C compressor, etc. is excessive
-Noise from engine
-Noise from transmission, etc.
2.Check for the cause of insufficient combustion. Refer to the following.
-Valve clearance malfunction
-Intake valve timing control function malfunction
-Camshaft sprocket installation malfunction, etc.
- Repair or replace malfunctioning part, and then GO TO 30.
19. CHECK INTAKE SYSTEM
Check for the cause of uneven air flow through mass air flow sensor. Refer to the following.
- Crushed air ducts
- Malfunctioning seal of air cleaner element
- Uneven dirt of air cleaner element
- Improper specification of intake air system
OK or NG
OK- GO TO 21.
NG- Repair or replace malfunctioning part, and then GO TO 20.
20. CHECK "A/F ALPHA-B1", "A/F ALPHA-B2" AND "B/FUEL SCHDL"
Select "A/F ALPHA-B1", "A/F ALPHA-B1" and "B/FUEL SCHDL" in "SPEC" of "DATA MONITOR" mode, and check that the each indication is within the SP value.
OK or NG
OK-INSPECTION END
NG ("B/FUEL SCHDL" is more, "A/F ALPHA-B1", "A/F ALPHA-B2" is less than the SP value)-GO TO 21.
21. DISCONNECT AND RECONNECT MASS AIR FLOW SENSOR HARNESS CONNECTOR
1.Stop the engine.
2.Disconnect mass air flow sensor harness connector. Check pin terminal and connector for damage and then reconnect it again.
- GO TO 22.
22. CHECK "A/F ALPHA-B1", "A/F ALPHA-B2"
1.Start engine.
2.Select "A/F ALPHA-B1", "A/F ALPHA-B2" in "SPEC" of "DATA MONITOR" mode, and check that the each indication is within the SP value.
OK or NG
OK- 1.Detect malfunctioning part of mass air flow sensor circuit and repair it.
2.GO TO 29.
NG- GO TO 23.
23. CHECK "MAS A/F SE-B1"
Select "MAS A/F SE-B1" in "SPEC" of "DATA MONITOR" mode, and check that the indication is within the SP
value.
OK or NG
OK- GO TO 24.
NG (More than the SP value)-Replace mass air flow sensor, Service and Repair, and then GO TO 29.
24. REPLACE ECM
1.Replace ECM.
2.Perform initialization of NVIS(NATS) system and registration of all NVIS(NATS) ignition key IDs.
ECM Re-Communicating Function.
3.Perform VIN Registration.
4.Perform Accelerator Pedal Released Position Learning.
5.Perform Throttle Valve Closed Position Learning.
6.Perform Idle Air Volume Learning.
- GO TO 29.
25. CHECK INTAKE SYSTEM
Check for the cause of uneven air flow through mass air flow sensor. Refer to the following.
- Crushed air ducts
- Malfunctioning seal of air cleaner element
- Uneven dirt of air cleaner element
- Improper specification of intake air system
OK or NG
OK- GO TO 27.
NG- Repair or replace malfunctioning part, and then GO TO 26.
26. CHECK "B/FUEL SCHDL"
Select "B/FUEL SCHDL" in "SPEC" of "DATA MONITOR" mode, and check that the indication is within the SP
value.
OK or NG
OK-INSPECTION END
NG (Less than the SP value)-GO TO 27.
27. CHECK "MAS A/F SE-B1"
Select "MAS A/F SE-B1" in "SPEC" of "DATA MONITOR" mode, and check that the indication is within the SP
value.
OK or NG
OK- GO TO 28.
NG (Less than the SP value)-Replace mass air flow sensor, Service and Repair, and then GO TO 30.
28. CHECK INTAKE SYSTEM
Check for the cause of air leak after the mass air flow sensor. Refer to the following.
- Disconnection, looseness, and cracks in air duct
- Looseness of oil filler cap
- Disconnection of oil level gauge
- Open stuck, breakage, hose disconnection, or cracks of PCV valve
- Disconnection or cracks of EVAP purge hose, open stuck of EVAP canister purge volume control solenoid valve
- Malfunctioning seal of rocker cover gasket
- Disconnection, looseness, or cracks of hoses, such as vacuum hose, connecting to intake air system parts
- Malfunctioning seal of intake air system, etc.
- GO TO 30.
29. CHECK "A/F ALPHA-B1", "A/F ALPHA-B2" AND "B/FUEL SCHDL"
Select "A/F ALPHA-B1", "A/F ALPHA-B2" and "B/FUEL SCHDL" in "SPEC" of "DATA MONITOR" mode, and check that the each indication is within the SP value.
OK or NG
OK-INSPECTION END
NG- Detect malfunctioning part according to Symptom Related Diagnostic Procedures.
30. CHECK "B/FUEL SCHDL"
Select "B/FUEL SCHDL" in "SPEC" of "DATA MONITOR" mode, and then check that the indication is within the SP value.
OK or NG
OK-INSPECTION END
NG- Detect malfunctioning part according to Symptom Related Diagnostic Procedures.