Curiosii for ever!
: Car repair manuals for everyone.
Home
>>
Nissan-Datsun
>>
2012
>>
Sentra L4-2.0L (MR20DE)
>>
Repair and Diagnosis
>>
Powertrain Management
>>
Computers and Control Systems
>>
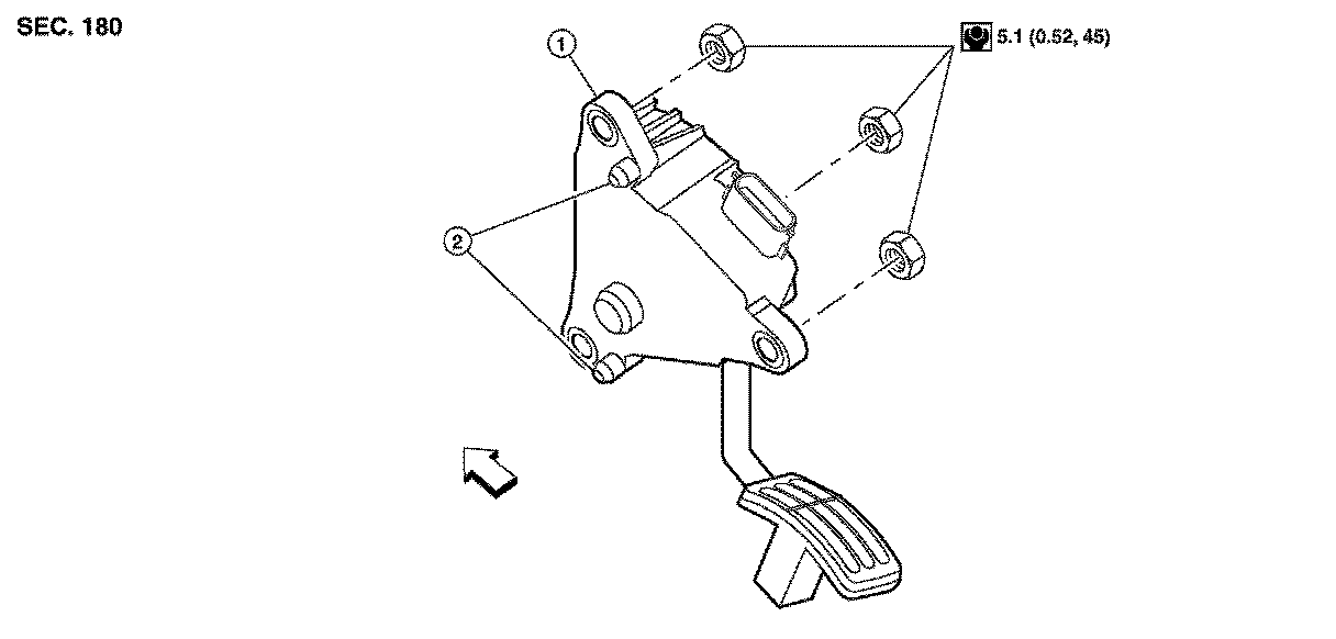
Accelerator Pedal Position Sensor
>>
Service and Repair
>>
Component
Component
ACCELERATOR CONTROL SYSTEM
Component