Curiosii for ever!: Car repair manuals for everyone.

Relay Control System




SYSTEM

RELAY CONTROL SYSTEM : System Description


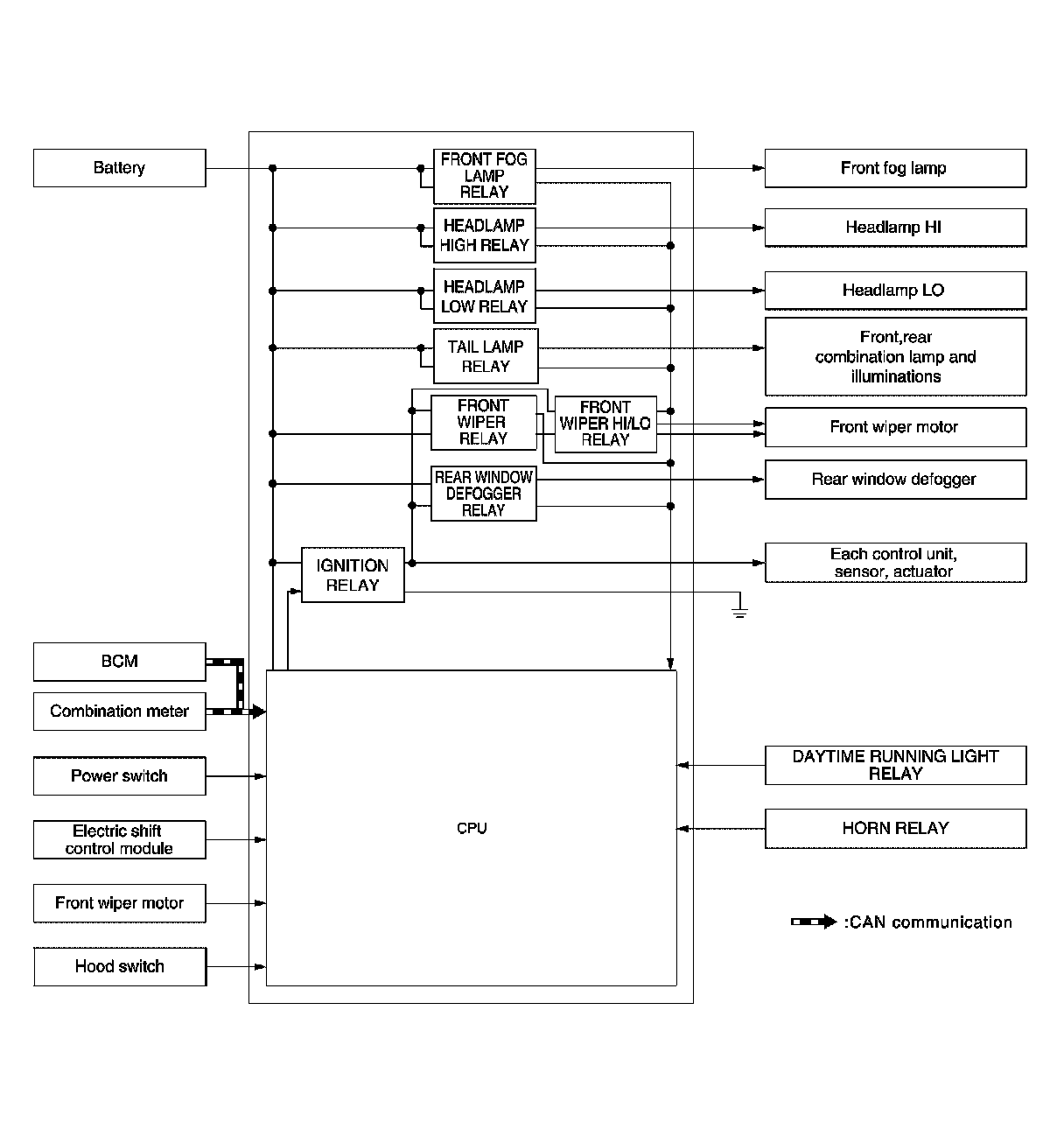
SYSTEM DIAGRAM







DESCRIPTION

IPDM E/R activates the internal control circuit to perform the relay ON-OFF control according to the input signals from various sensors and the request signals received from control units via CAN communication.

CAUTION:
To prevent damage to the parts, IPDM E/R integrated relays cannot be removed.










*: For Canada