Curiosii for ever!
: Car repair manuals for everyone.
Home
>>
Nissan-Datsun
>>
2012
>>
Leaf ELE-Electric Engine
>>
Repair and Diagnosis
>>
Electric Drive Systems
>>
Description and Operation
>>
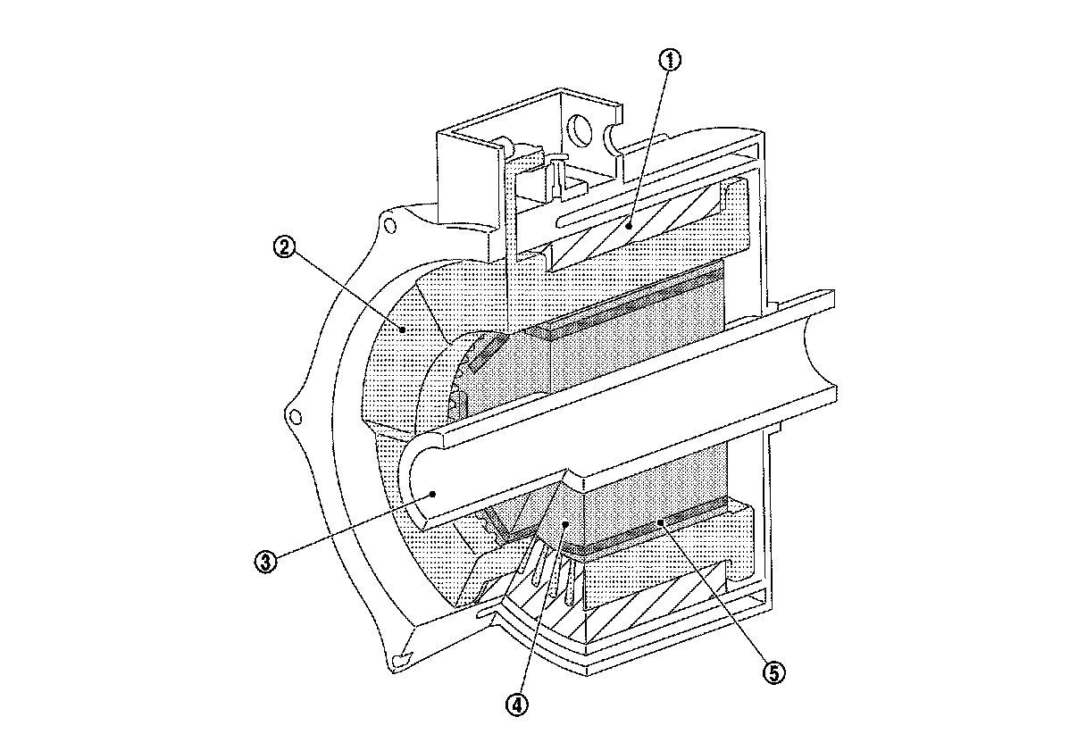
Structural Drawing
Structural Drawing
STRUCTURE AND OPERATION
Structural Drawing
MOTOR MECHANISM (DIAGRAM)