Curiosii for ever!: Car repair manuals for everyone.

EV System Start Up Control




SYSTEM

EV SYSTEM START UP CONTROL : System Description


SYSTEM DIAGRAM







INPUT/OUTPUT SIGNAL CHART







EV SYSTEM START UP CONTROL

VCM judges the operation mode from signals sent by various sensors, switches and ECUs, and controls the start/stop of the EV system by activating the relays accordingly. VCM also activates the SSOFF relay so that it can shut off VCM power when VCM stops (self shutoff).
Power switch ON





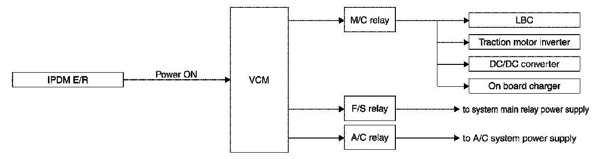
When the power ON power supply from the IPDM E/R enters VCM, VCM turns ON the M/C relay to supply power to each ECU in the EV system.
READY





When the driver operates the POWER switch while depressing the brake pedal, VCM turns ON the M/C relay to supply power to each ECU in the EV system. Furthermore, VCM activates the F/S relay to start the power supply to the system main relay.
NOTE:
VCM inhibits the vehicle is set to READY in following conditions:
- Charge connector is connected
- Li-ion battery remaining energy is too low.
- Li-ion battery temperature is too low. [Approximately -25�C (-13�F)]
In Normal Charging





If VCM judges that the system is in normal charge mode, VCM turns ON the M/C relay to supply power to each ECU in the EV system and to the normal charge relay in the DC/DC junction box. Furthermore, VCM
activates the F/S relay to start the power supply to the system main relay.
NOTE:
Normal charging does not start with the power switch ON.
In Quick Charging





When VCM judges that the system is in quick charge mode, VCM turns ON the M/C relay to supply power to each ECU in the EV system. VCM also activates the F/S CHG relay to supply power to the quick charge relay inside DC/DC J/B. Furthermore, VCM activates the F/S relay to start the power supply to the system main relay.
When Air Conditioner Is Operating (Power OFF)
When VCM receives an air conditioner operation command, VCM turns ON the M/C relay to start the EV system. VCM also activates the A/C relay to supply power to the air conditioner system. Furthermore, VCM activates the F/S relay to start the power supply to the system main relay.
When Automatic 12V Battery Charge Control is Operating
When VCM judges that the 12V battery requires automatic charging, VCM turns ON the M/C relay to start the
EV system. Furthermore, VCM activates the F/S relay to start the power supply to the system main relay.
Relay Activation Matrix
POWER ON





POWER OFF