Curiosii for ever!: Car repair manuals for everyone.

Self Shut-Off Relay: Description and Operation




SSOFF RELAY

Diagnosis Procedure


1. CHECK FUSE

1.Turn power switch OFF.
2.Pull out #43 fuse.
3.Check that the fuse is not fusing.
Is the inspection result normal?
YES- GO TO 2.
NO- Replace the fuse after repairing the applicable circuit.

2. CHECK BATTERY POWER SUPPLY-I

1.Insert the fuse which pulled out.
2.Check the voltage between IPDM E/R harness connector and ground.





Is the inspection result normal?
YES- GO TO 6.
NO- GO TO 3.

3. CHECK BATTERY POWER SUPPLY-II

Check the voltage between IPDM E/R harness connector and ground.





Is the inspection result normal?
YES- GO TO 5.
NO- GO TO 4.

4. CHECK FUSIBLE LINK

1.Disconnect fusible link #D.
2.Check that the fusible link is not fusing.
Is the inspection result normal?
YES- Check power supply circuit for battery power supply.
NO- Replace the fusible link after repairing the applicable circuit.

5. CHECK SSOFF RELAY CONTROL CIRCUIT FOR SHORT TO GROUND

1.Turn power switch OFF.
2.Disconnect VCM harness connector.
3.Check harness for short to ground, between IPDM E/R harness connector and VCM harness connector.





Is the inspection result normal?
YES- Replace IPDM E/R. Removal And Installation.
NO- Repair or replace error-detected parts.

6. CHECK SSOFF RELAY CONTROL SIGNAL

1.Turn power switch ON.
2.Check the voltage between IPDM E/R harness connector and ground.





Is the inspection result normal?
YES- GO TO 10.
NO- GO TO 7.

7. CHECK SSOFF RELAY CONTROL SIGNAL CIRCUIT

1.Turn power switch OFF.
2.Disconnect VCM harness connector.
3.Check the continuity between IPDM E/R harness connector and VCM harness connector.





4.Also check harness for short to ground and short to power.
Is the inspection result normal?
YES- GO TO 8.
NO- Repair or replace error-detected parts.

8. CHECK VCM GROUND CIRCUIT

Check the continuity between VCM harness connector and ground.





Is the inspection result normal?
YES- GO TO 9.
NO- Repair or replace error-detected parts.

9. CHECK INTERMITTENT INCIDENT

Check intermittent incident. Intermittent Incident.
Is the inspection result normal?
YES- Replace VCM. Removal And Installation.
NO- Repair or replace error-detected parts.

10. CHECK SSOFF RELAY OUTPUT VOLTAGE

Check the voltage between IPDM E/R harness connector and ground.





Is the inspection result normal?
YES- INSPECTION END
NO- Replace IPDM E/R. Removal And Installation.


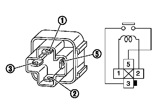
Component Inspection (SSOFF Relay)


1. CHECK SSOFF RELAY

1.Turn power switch OFF.
2.Remove SSOFF relay.
3.Check the continuity between SSOFF relay terminals under the following conditions.





Is the inspection result normal?
YES- INSPECTION END
NO- Replace SSOFF relay.