Curiosii for ever!
: Car repair manuals for everyone.
Home
>>
Nissan-Datsun
>>
2012
>>
Leaf ELE-Electric Engine
>>
Repair and Diagnosis
>>
Electric Drive Systems
>>
Battery / Power Control System
>>
Charge Port
>>
Service and Repair
>>
Quick Charge Port
>>
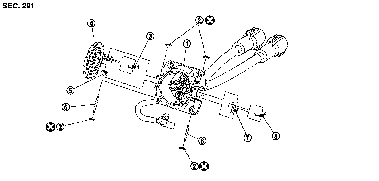
Exploded View
Exploded View
QUICK
CHARGE PORT
Exploded View
REMOVAL
DISASSEMBLY